专利数据库
统计分析
产业报告
专利数据监控
产业人才
行业动态
产业政策法规
维权援助
个人中心
详情
文本
图像
标题
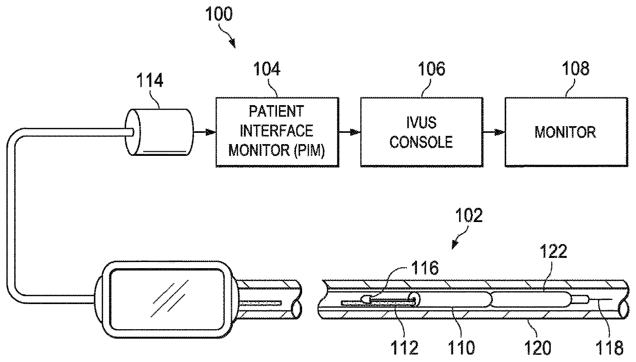
Intravascular ultrasound imaging apparatus, interface architecture, and method of manufacturing
授权日
2020-03-03
公开(公告)号
US10575815
申请日
2017-06-08
公开(公告)日
2020-03-03
当前申请(专利权)人
PHILIPS IMAGE GUIDED THERAPY CORPORATION
发明人
CORL, PAUL DOUGLAS
简单同族
CA2896718A1 | EP2938265A1 | EP2938265A4 | JP2016501678A | JP6334561B2 | US10555720 | US10575815 | US10674996 | US20140187960A1 | US20170265841A1 | US20170265842A1 | US20200196980A1 | WO2014105725A1
简单同族成员数量
13
简单同族被引用专利总数
53
诉讼案件数
0
法律状态/事件
授权
抱歉,您的浏览器不支持PDF预览,请点击链接下载PDF文件