专利数据库
统计分析
产业报告
专利数据监控
产业人才
行业动态
产业政策法规
维权援助
个人中心
详情
文本
图像
标题
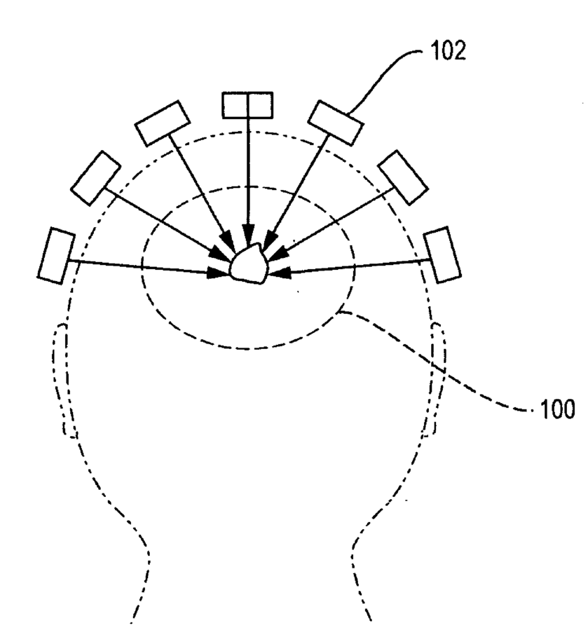
Multimode ultrasound focusing for medical applications
授权日
1900-01-01
公开(公告)号
US20100268088A1
申请日
2009-04-17
公开(公告)日
2010-10-21
当前申请(专利权)人
INSIGHTEC, LTD.
发明人
PRUS, OLEG | VITEK, SHUKI
简单同族
EP2429656A1 | EP2429656B1 | US20100268088A1 | US8617073 | WO2010119340A1
简单同族成员数量
5
简单同族被引用专利总数
57
诉讼案件数
0
法律状态/事件
授权 | 权利转移
抱歉,您的浏览器不支持PDF预览,请点击链接下载PDF文件