专利数据库
统计分析
产业报告
专利数据监控
产业人才
行业动态
产业政策法规
维权援助
个人中心
详情
文本
图像
标题
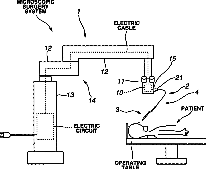
Ultrasonic probe for operation under microscope
授权日
2007-08-21
公开(公告)号
US7258668
申请日
2003-09-09
公开(公告)日
2007-08-21
当前申请(专利权)人
OLYMPUS CORPORATION
发明人
HIROOKA, KENJI | OHDACHI, ICHIRO | TSUTAKI, SHINICHI
简单同族
JP2001224595A | US20030045768A1 | US20040049111A1 | US6641539 | US7258668
简单同族成员数量
5
简单同族被引用专利总数
87
诉讼案件数
0
法律状态/事件
未缴年费 | 权利转移
抱歉,您的浏览器不支持PDF预览,请点击链接下载PDF文件