专利数据库
统计分析
产业报告
专利数据监控
产业人才
行业动态
产业政策法规
维权援助
个人中心
详情
文本
图像
标题
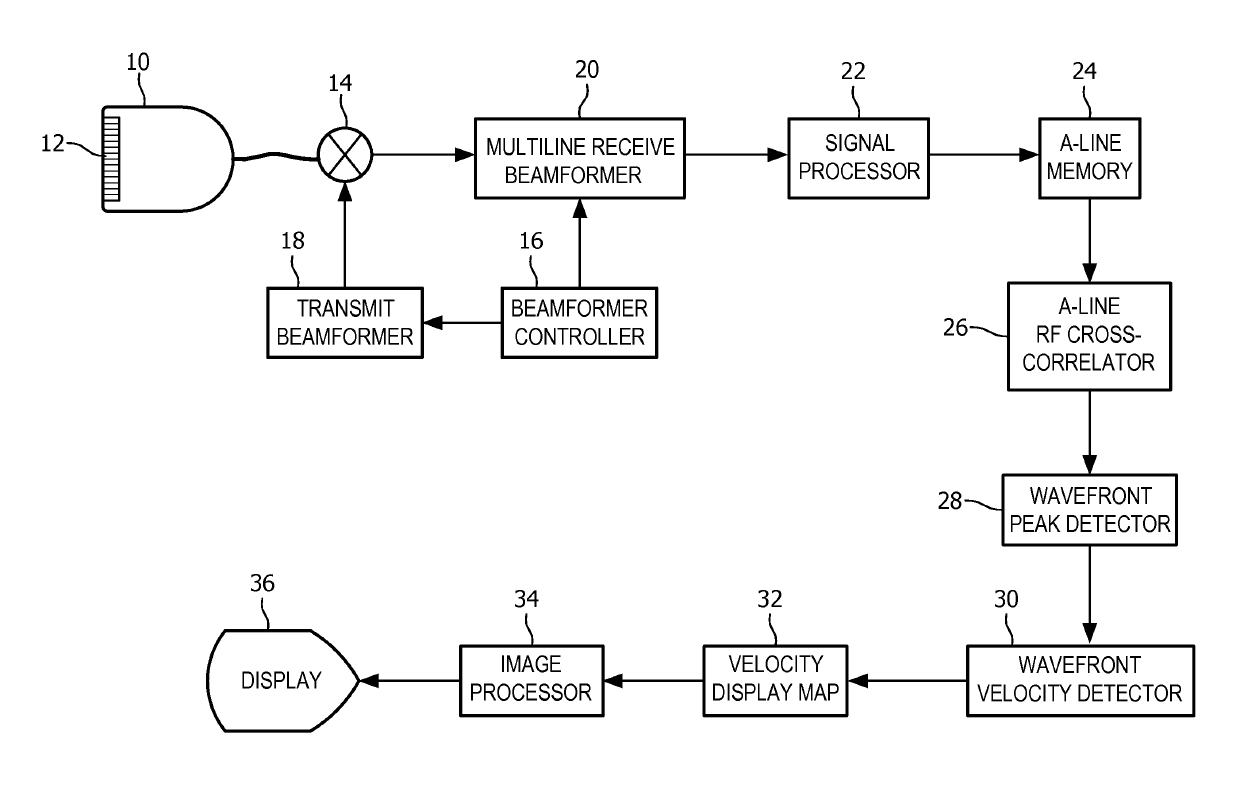
Ultrasonic shear wave imaging with focused scanline beamforming
授权日
2019-08-06
公开(公告)号
US10368843
申请日
2010-11-15
公开(公告)日
2019-08-06
当前申请(专利权)人
KONINKLIJKE PHILIPS ELECTRONICS N V
发明人
PETERSON, ROY BECK | SHI, YAN | XIE, HUA | ROBERT, JEAN-LUC | SHAMDASANI, VIJAY | ENTREKIN, ROBERT RANDALL | FERANDEZ, ANNA TERESA
简单同族
BR112012012230A2 | CN102667522A | CN102667522B | EP2504716A1 | EP2504716B1 | JP2013512026A | JP2016116875A | JP6148010B2 | JP6235625B2 | RU2012126172A | RU2552894C2 | US10368843 | US20130131511A1 | US20190314002A1 | WO2011064688A1
简单同族成员数量
15
简单同族被引用专利总数
147
诉讼案件数
0
法律状态/事件
授权 | 权利转移
抱歉,您的浏览器不支持PDF预览,请点击链接下载PDF文件