专利数据库
统计分析
产业报告
专利数据监控
产业人才
行业动态
产业政策法规
维权援助
个人中心
详情
文本
图像
标题
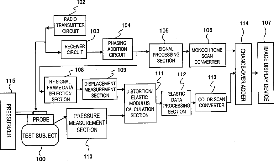
Ultrasonographic device
授权日
1900-01-01
公开(公告)号
US20060173306A1
申请日
2004-01-14
公开(公告)日
2006-08-03
当前申请(专利权)人
HITACHI, LTD.
发明人
MATSUMURA, TAKESHI | TAMANO, SATOSHI | MITAKE, TSUYOSHI | SIINA, TSUYOSHI
简单同族
CN100556369C | CN101427932A | CN101427932B | CN1738576A | EP1591068A1 | EP1591068A4 | EP1591068B1 | EP2387948A1 | EP2387948B1 | EP2591730A1 | JP2004261198A | JP2004261198A5 | JP4314035B2 | US20060173306A1 | US20090171211A1 | US7628754 | US8206298 | WO2004062503A1
简单同族成员数量
18
简单同族被引用专利总数
90
诉讼案件数
0
法律状态/事件
授权 | 权利转移
抱歉,您的浏览器不支持PDF预览,请点击链接下载PDF文件