专利数据库
统计分析
产业报告
专利数据监控
产业人才
行业动态
产业政策法规
维权援助
个人中心
详情
文本
图像
标题
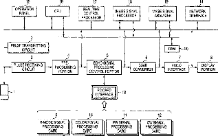
Ultrasonic diagnostic device, function extending method related to ultrasonic diagnosis, and method of providing extension function related to ultrasonic diagnosis
授权日
2006-06-13
公开(公告)号
US7060032
申请日
2003-04-18
公开(公告)日
2006-06-13
当前申请(专利权)人
TOSHIBA MEDICAL SYSTEMS CORPORATION
发明人
SANO, AKIHIRO | HASHIMOTO, KEISUKE
简单同族
CN100400001C | CN1239126C | CN1473023A | CN1701759A | EP1336378A1 | EP1336378A4 | EP1336378B1 | JP2002136512A | JP4664479B2 | US20030191389A1 | US7060032 | WO2002036014A1
简单同族成员数量
12
简单同族被引用专利总数
67
诉讼案件数
0
法律状态/事件
未缴年费 | 权利转移
抱歉,您的浏览器不支持PDF预览,请点击链接下载PDF文件