专利数据库
统计分析
产业报告
专利数据监控
产业人才
行业动态
产业政策法规
维权援助
个人中心
详情
文本
图像
标题
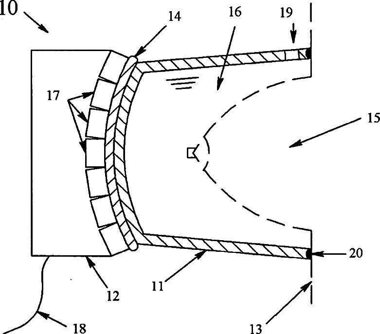
Apparatus and method for three dimensional ultrasound breast imaging
授权日
1900-01-01
公开(公告)号
US20040254464A1
申请日
2004-05-24
公开(公告)日
2004-12-16
当前申请(专利权)人
ORISON CORPORATION
发明人
STRIBLING, MARK L.
简单同族
US20040254464A1 | US20110237946A1 | US7850613
简单同族成员数量
3
简单同族被引用专利总数
125
诉讼案件数
0
法律状态/事件
授权 | 权利转移
抱歉,您的浏览器不支持PDF预览,请点击链接下载PDF文件