专利数据库
统计分析
产业报告
专利数据监控
产业人才
行业动态
产业政策法规
维权援助
个人中心
详情
文本
图像
标题
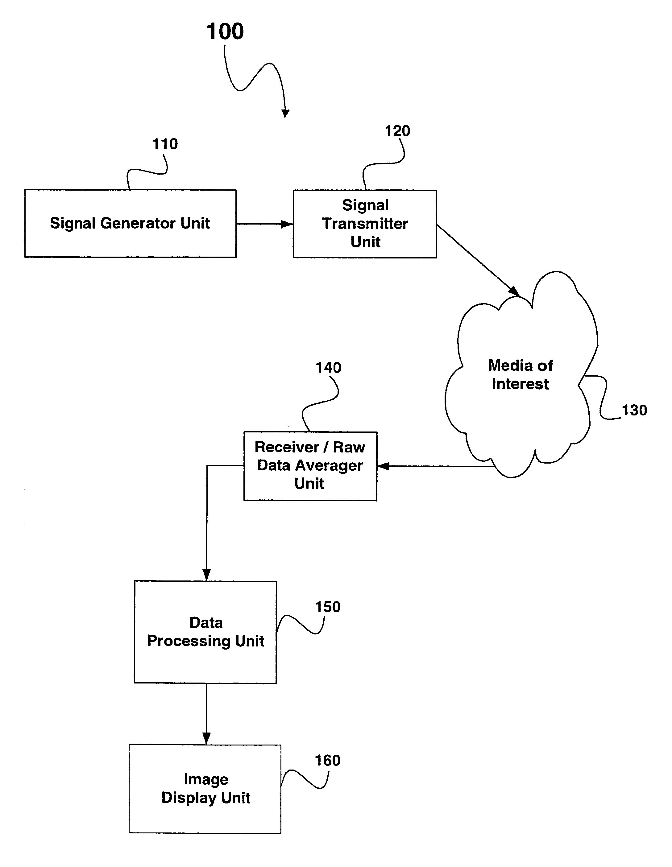
System for phase inversion ultrasonic imaging
授权日
2010-04-20
公开(公告)号
US7699781
申请日
2004-02-04
公开(公告)日
2010-04-20
当前申请(专利权)人
SHENZHEN MINDRAY BIO-MEDICAL ELECTRONICS CO., LTD.
发明人
MCLAUGHLIN, GLEN | JI, TING-LAN
简单同族
CN1297235C | CN1389178A | DE10224234A1 | DE10224234B4 | JP2003038490A | TW531407B | US10222461 | US20020188199A1 | US20030004414A1 | US20040158149A1 | US20080103394A1 | US6866631 | US7226416 | US7699781 | USR46931
简单同族成员数量
15
简单同族被引用专利总数
110
诉讼案件数
0
法律状态/事件
授权 | 权利转移
抱歉,您的浏览器不支持PDF预览,请点击链接下载PDF文件