专利数据库
统计分析
产业报告
专利数据监控
产业人才
行业动态
产业政策法规
维权援助
个人中心
详情
文本
图像
标题
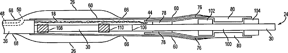
Ultrasonic imaging devices and methods of fabrication
授权日
2004-03-30
公开(公告)号
US6712767
申请日
2002-08-29
公开(公告)日
2004-03-30
当前申请(专利权)人
JOMED N.V.
发明人
HOSSACK, NORMAN HUGH | JEFFREY, ANDREW THOMAS | NIX, ELVIN LEONARD
简单同族
AU2003268233A1 | AU2003268233A8 | US20040044286A1 | US6712767 | WO2004020018A2 | WO2004020018A3
简单同族成员数量
6
简单同族被引用专利总数
82
诉讼案件数
0
法律状态/事件
未缴年费 | 许可 | 权利转移
抱歉,您的浏览器不支持PDF预览,请点击链接下载PDF文件