专利数据库
统计分析
产业报告
专利数据监控
产业人才
行业动态
产业政策法规
维权援助
个人中心
详情
文本
图像
标题
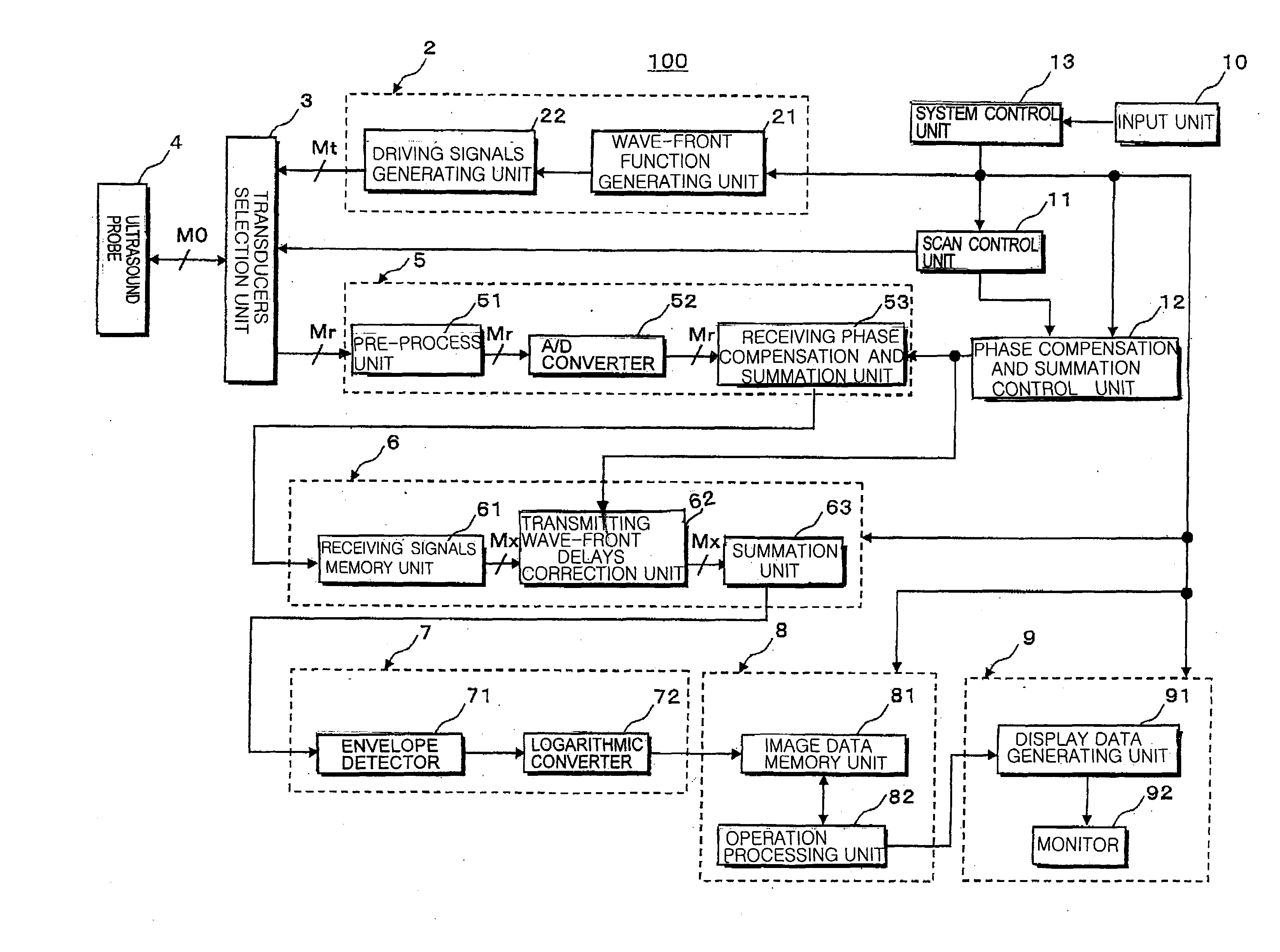
Ultrasound diagnosis apparatus
授权日
1900-01-01
公开(公告)号
US20090326377A1
申请日
2009-03-30
公开(公告)日
2009-12-31
当前申请(专利权)人
TOSHIBA MEDICAL SYSTEMS CORPORATION
发明人
HIRAMA, MAKOTO
简单同族
CN101548896A | CN101548896B | EP2107388A1 | EP2738569A2 | EP2738569A3 | JP2009240700A | JP5355924B2 | US20090326377A1 | US8485977
简单同族成员数量
9
简单同族被引用专利总数
79
诉讼案件数
0
法律状态/事件
授权 | 权利转移
抱歉,您的浏览器不支持PDF预览,请点击链接下载PDF文件