专利数据库
统计分析
产业报告
专利数据监控
产业人才
行业动态
产业政策法规
维权援助
个人中心
详情
文本
图像
标题
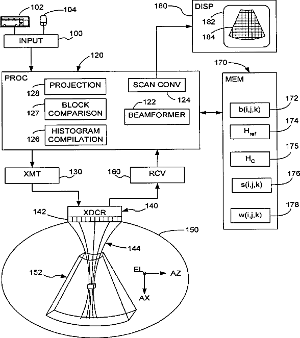
3-D ultrasound imaging system and method
授权日
2002-10-22
公开(公告)号
US6468218
申请日
2001-08-31
公开(公告)日
2002-10-22
当前申请(专利权)人
SIEMENS MEDICAL SOLUTIONS USA, INC.
发明人
CHEN, JIAN-FENG | LIU, DONG-CHYUAN
简单同族
US6468218
简单同族成员数量
1
简单同族被引用专利总数
91
诉讼案件数
0
法律状态/事件
授权 | 权利转移
抱歉,您的浏览器不支持PDF预览,请点击链接下载PDF文件