专利数据库
统计分析
产业报告
专利数据监控
产业人才
行业动态
产业政策法规
维权援助
个人中心
详情
文本
图像
标题
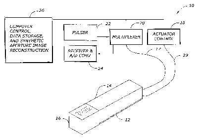
High frequency synthetic ultrasound array incorporating an actuator
授权日
2004-01-20
公开(公告)号
US6679845
申请日
2001-08-13
公开(公告)日
2004-01-20
当前申请(专利权)人
PENN STATE RESEARCH FOUNDATION, THE
发明人
RITTER, TIMOTHY ADAM | SHUNG, K. KIRK | SHROUT, THOMAS R.
简单同族
US20020050169A1 | US6679845
简单同族成员数量
2
简单同族被引用专利总数
89
诉讼案件数
0
法律状态/事件
未缴年费 | 许可 | 权利转移
抱歉,您的浏览器不支持PDF预览,请点击链接下载PDF文件