专利数据库
统计分析
产业报告
专利数据监控
产业人才
行业动态
产业政策法规
维权援助
个人中心
详情
文本
图像
标题
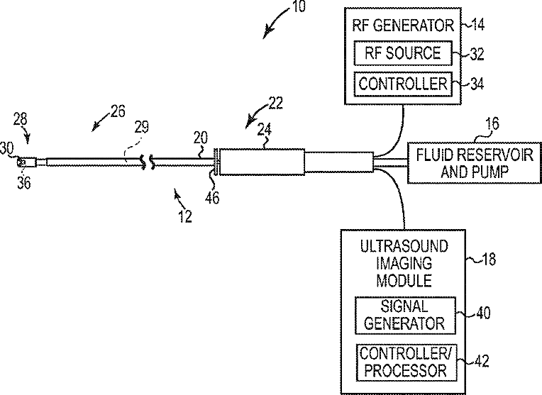
Ablation probe with ultrasonic imaging capability
授权日
1900-01-01
公开(公告)号
US20130172742A1
申请日
2012-12-28
公开(公告)日
2013-07-04
当前申请(专利权)人
KONINKLIJKE PHILIPS N.V. | BOSTON SCIENTIFIC SCIMED, INC.
发明人
RANKIN, DARRELL L. | KOBLISH, JOSEF V. | DELADI, SZABOLCS
简单同族
CN104125811A | CN104125811B | EP2797536A1 | EP2797536B1 | JP2015506209A | US20130172742A1 | US9241761 | WO2013102072A1
简单同族成员数量
8
简单同族被引用专利总数
45
诉讼案件数
0
法律状态/事件
授权 | 权利转移
抱歉,您的浏览器不支持PDF预览,请点击链接下载PDF文件