专利数据库
统计分析
产业报告
专利数据监控
产业人才
行业动态
产业政策法规
维权援助
个人中心
详情
文本
图像
标题
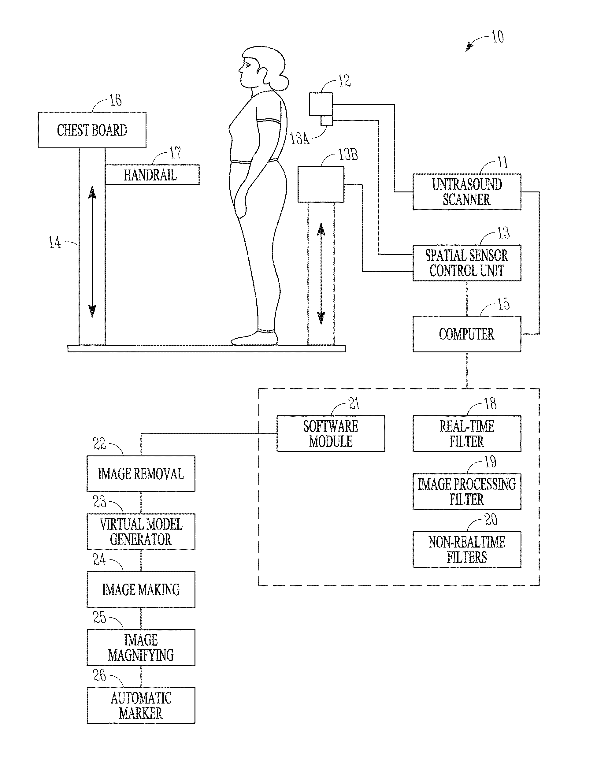
Three-dimensional (3D) ultrasound imaging system for assessing scoliosis
授权日
2014-12-02
公开(公告)号
US8900146
申请日
2009-07-27
公开(公告)日
2014-12-02
当前申请(专利权)人
HONG KONG POLYTECHNIC UNIVERSITY, THE
发明人
ZHENG, YONGPING | CHEUNG, JAMES CHUNG WAI
简单同族
AU2010278526A1 | AU2010278526B2 | CA2769150A1 | CA2769150C | CN102497821A | CN102497821B | EP2459073A1 | EP2459073A4 | EP2459073B1 | ES2747371T3 | HRP20191718T1 | JP2013500089A | JP5849048B2 | PL2459073T3 | PT2459073T | RS59355B1 | US20110021914A1 | US8900146 | WO2011012055A1
简单同族成员数量
19
简单同族被引用专利总数
56
诉讼案件数
0
法律状态/事件
授权 | 权利转移
抱歉,您的浏览器不支持PDF预览,请点击链接下载PDF文件