专利数据库
统计分析
产业报告
专利数据监控
产业人才
行业动态
产业政策法规
维权援助
个人中心
详情
文本
图像
标题
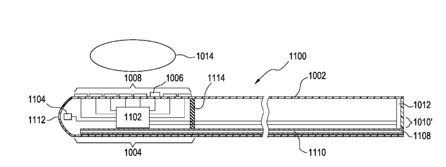
Catheter comprising capacitive micromachined ultrasonic transducers with an adjustable focus
授权日
2018-06-05
公开(公告)号
US9986916
申请日
2011-11-15
公开(公告)日
2018-06-05
当前申请(专利权)人
KONINKLIJKE PHILIPS ELECTRONICS N.V.
发明人
KOHLER, MAX OSKAR | DIRKSEN, PETER | SOKKA, SHUNMUGAVELU | DEKKER, RONALD
简单同族
BR112013012198A2 | CN103221093A | CN103221093B | EP2455133A1 | EP2640466A1 | EP2640466B1 | EP2640466B8 | JP2013544150A | JP2017047218A | JP6382518B2 | JP6382900B2 | RU2013127578A | RU2594429C2 | US20140005521A1 | US9986916 | WO2012066477A1
简单同族成员数量
16
简单同族被引用专利总数
85
诉讼案件数
0
法律状态/事件
授权 | 权利转移
抱歉,您的浏览器不支持PDF预览,请点击链接下载PDF文件