专利数据库
统计分析
产业报告
专利数据监控
产业人才
行业动态
产业政策法规
维权援助
个人中心
详情
文本
图像
标题
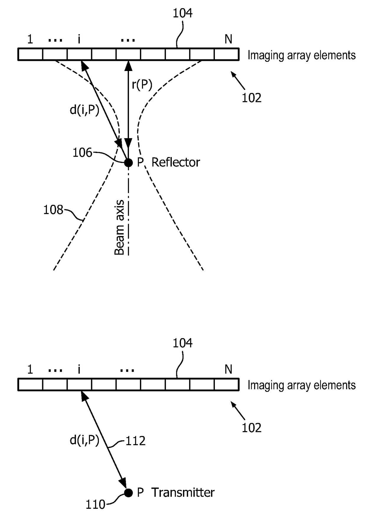
Ultrasonic tracking of ultrasound transducer(s) aboard an interventional tool
授权日
2018-11-20
公开(公告)号
US10130330
申请日
2017-03-06
公开(公告)日
2018-11-20
当前申请(专利权)人
KONINKLIJKE PHILIPS N.V.
发明人
VIGNON, FRANCOIS GUY GERARD MARIE | SHI, WILLIAM TAO | ROBERT, JEAN-LUC | JAIN, AMEET KUMAR | GUTIERREZ, LUIS FELIPE
简单同族
CN102869308A | CN102869308B | EP2566394A1 | EP2566394B1 | JP2013525057A | JP2016005577A | JP5889874B2 | JP5998260B2 | US10130330 | US20130041252A1 | US20160120499A1 | US20170172539A1 | US9282946 | US9585628 | WO2011138698A1
简单同族成员数量
15
简单同族被引用专利总数
116
诉讼案件数
0
法律状态/事件
授权
抱歉,您的浏览器不支持PDF预览,请点击链接下载PDF文件