专利数据库
统计分析
产业报告
专利数据监控
产业人才
行业动态
产业政策法规
维权援助
个人中心
详情
文本
图像
标题
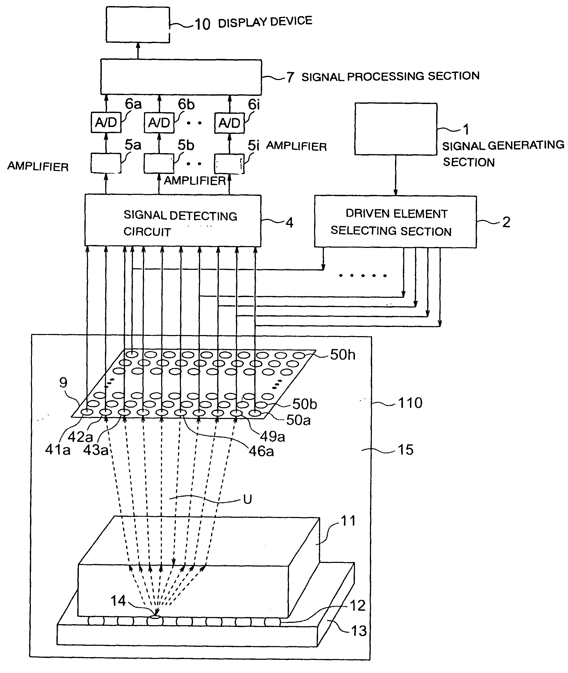
Ultrasonograph, ultrasonic transducer, examining instrument, and ultrasonographing device
授权日
1900-01-01
公开(公告)号
US20040024320A1
申请日
2002-11-14
公开(公告)日
2004-02-05
当前申请(专利权)人
KABUSHIKI KAISHA TOSHIBA
发明人
KARASAWA, HIROKAZU | NAKAMOTO, MASAYUKI | OCHIAI, MAKOTO | FUKUDA, KATSUYOSHI | HIRASAWA, TAIJI | IKEDA, TAKAHIRO
简单同族
CN100460872C | CN1492999A | DE60239013D1 | EP1462799A1 | EP1462799A4 | EP1462799B1 | KR100559808B1 | KR100572236B1 | KR1020040031679A | KR1020050055040A | US20040024320A1 | US7421900 | WO2003042686A1
简单同族成员数量
13
简单同族被引用专利总数
102
诉讼案件数
0
法律状态/事件
授权 | 权利转移
抱歉,您的浏览器不支持PDF预览,请点击链接下载PDF文件