专利数据库
统计分析
产业报告
专利数据监控
产业人才
行业动态
产业政策法规
维权援助
个人中心
详情
文本
图像
标题
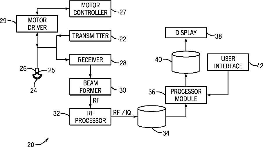
Motor driver for ultrasound system
授权日
2011-10-18
公开(公告)号
US8038619
申请日
2008-04-30
公开(公告)日
2011-10-18
当前申请(专利权)人
GENERAL ELECTRIC COMPANY
发明人
STEINBACHER, FRANZ
简单同族
US20090012394A1 | US20090012401A1 | US8038619
简单同族成员数量
3
简单同族被引用专利总数
97
诉讼案件数
0
法律状态/事件
未缴年费 | 权利转移
抱歉,您的浏览器不支持PDF预览,请点击链接下载PDF文件