专利数据库
统计分析
产业报告
专利数据监控
产业人才
行业动态
产业政策法规
维权援助
个人中心
详情
文本
图像
标题
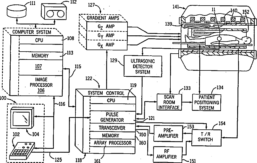
Method for generating a gating signal for an MRI system using an ultrasonic detector
授权日
1900-01-01
公开(公告)号
US20050272995A1
申请日
2005-07-21
公开(公告)日
2005-12-08
当前申请(专利权)人
PRINCE MARTIN R
发明人
PRINCE, MARTIN R.
简单同族
US20030195413A1 | US20050272995A1 | US6937883
简单同族成员数量
3
简单同族被引用专利总数
74
诉讼案件数
0
法律状态/事件
撤回
抱歉,您的浏览器不支持PDF预览,请点击链接下载PDF文件