专利数据库
统计分析
产业报告
专利数据监控
产业人才
行业动态
产业政策法规
维权援助
个人中心
详情
文本
图像
标题
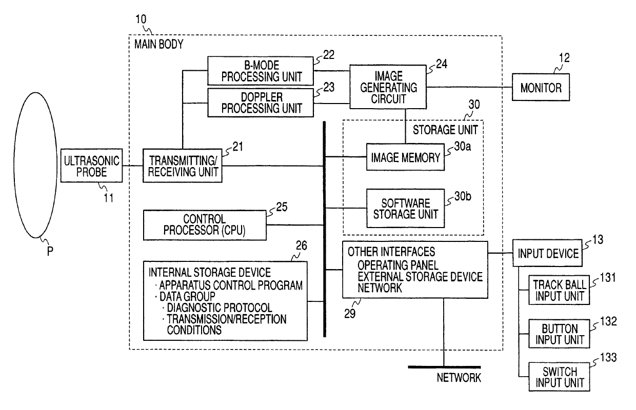
Ultrasonic diagnostic apparatus and method of generating ultrasonic image
授权日
2019-04-23
公开(公告)号
US10265053
申请日
2007-10-30
公开(公告)日
2019-04-23
当前申请(专利权)人
TOSHIBA MEDICAL SYSTEMS CORPORATION
发明人
YOSHIDA, TETSUYA | KAMIYAMA, NAOHISA
简单同族
CN101309647A | CN101309647B | EP1872724A1 | EP1872724A4 | EP1872724B1 | JP2013059679A | JP2013059679A5 | JP5323275B2 | US10265053 | US20080262354A1 | WO2007080895A1
简单同族成员数量
11
简单同族被引用专利总数
46
诉讼案件数
0
法律状态/事件
授权 | 权利转移
抱歉,您的浏览器不支持PDF预览,请点击链接下载PDF文件