专利数据库
统计分析
产业报告
专利数据监控
产业人才
行业动态
产业政策法规
维权援助
个人中心
详情
文本
图像
标题
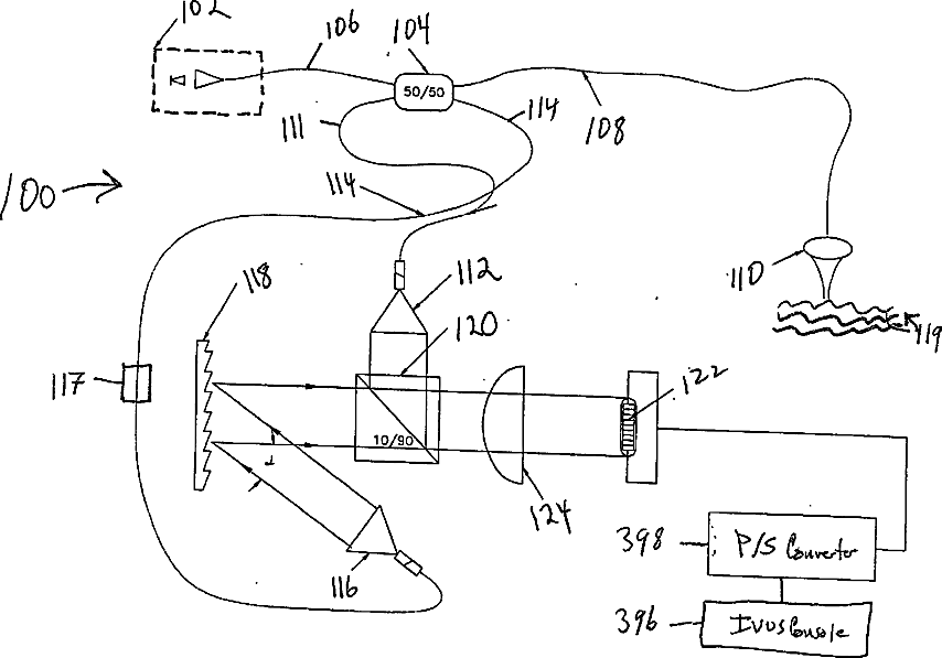
Systems and methods for processing signals from an interferometer by an ultrasound console
授权日
1900-01-01
公开(公告)号
US20030020922A1
申请日
2001-10-18
公开(公告)日
2003-01-30
当前申请(专利权)人
BOSTON SCIENTIFIC SCIMED, INC.
发明人
CROWLEY, ROBERT J. | BARBATO, LOUIS J. | OSTROVSKY, ISAAC | MODELL, MARK D.
简单同族
AT422326T | AU2002367168A1 | CA2459254A1 | DE60231132D1 | EP1435835A1 | EP1435835B1 | ES2323679T3 | JP2005514601A | JP2005514601A5 | US20030020922A1 | US6847454 | WO2003055383A1
简单同族成员数量
12
简单同族被引用专利总数
78
诉讼案件数
0
法律状态/事件
授权 | 权利转移
抱歉,您的浏览器不支持PDF预览,请点击链接下载PDF文件