专利数据库
统计分析
产业报告
专利数据监控
产业人才
行业动态
产业政策法规
维权援助
个人中心
详情
文本
图像
标题
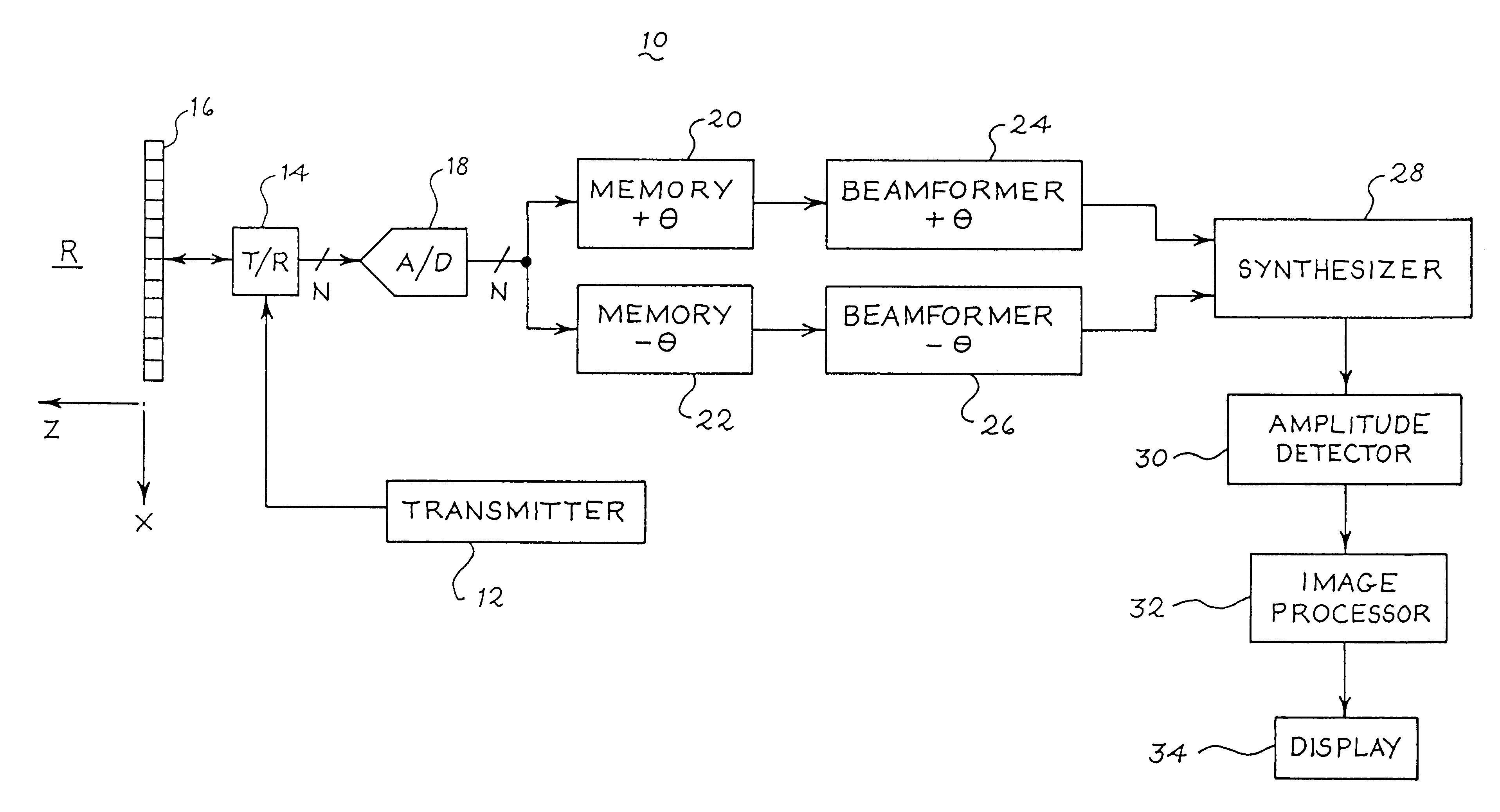
Method and apparatus for forming medical ultrasound images
授权日
2001-10-30
公开(公告)号
US6309356
申请日
2000-03-06
公开(公告)日
2001-10-30
当前申请(专利权)人
SIEMENS MEDICAL SOLUTIONS USA, INC.
发明人
USTUNER, KUTAY F. | BRADLEY, CHARLES E. | THOMAS, LEWIS J. | CHOU, CHING-HUA | NAPOLITANO, DAVID
简单同族
US6309356
简单同族成员数量
1
简单同族被引用专利总数
91
诉讼案件数
0
法律状态/事件
期限届满 | 权利转移
抱歉,您的浏览器不支持PDF预览,请点击链接下载PDF文件