专利数据库
统计分析
产业报告
专利数据监控
产业人才
行业动态
产业政策法规
维权援助
个人中心
详情
文本
图像
标题
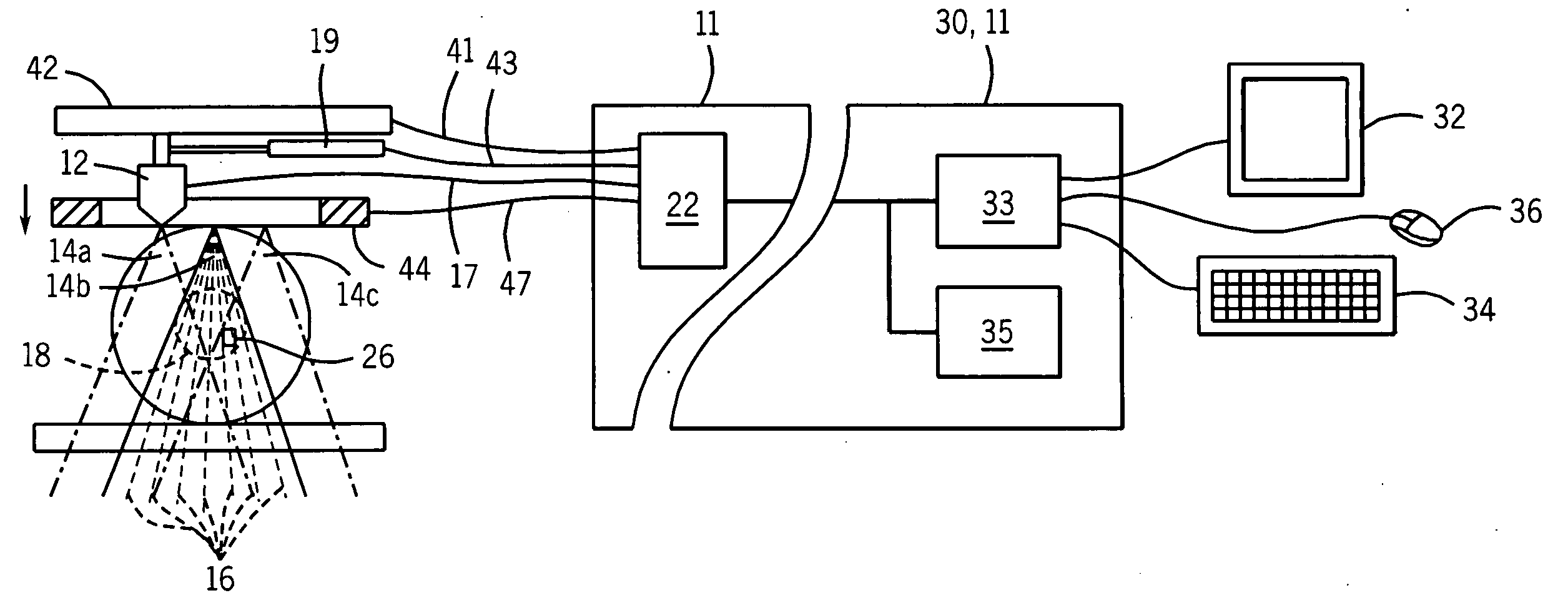
Ultrasonic elastography with angular compounding
授权日
1900-01-01
公开(公告)号
US20040215075A1
申请日
2004-01-27
公开(公告)日
2004-10-28
当前申请(专利权)人
WISCONSIN ALUMNI RESEARCH FOUNDATION
发明人
ZAGZEBSKI, JAMES A. | VARGHESE, TOMY
简单同族
EP1711846A1 | US20040215075A1 | US20050165309A1 | US7331926 | US7601122 | WO2005073755A1
简单同族成员数量
6
简单同族被引用专利总数
112
诉讼案件数
0
法律状态/事件
授权 | 权利转移
抱歉,您的浏览器不支持PDF预览,请点击链接下载PDF文件