专利数据库
统计分析
产业报告
专利数据监控
产业人才
行业动态
产业政策法规
维权援助
个人中心
详情
文本
图像
标题
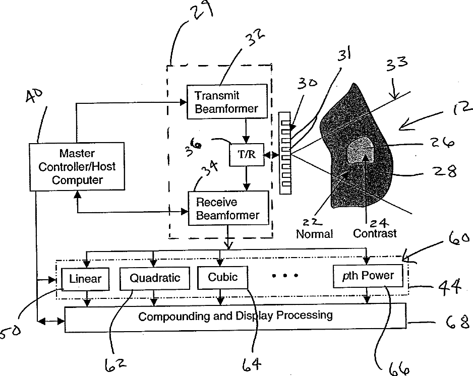
Ultrasound imaging system and method using non-linear post-beamforming filter
授权日
1900-01-01
公开(公告)号
US20030212326A1
申请日
2002-05-10
公开(公告)日
2003-11-13
当前申请(专利权)人
MINNESOTA, REGENTS OF THE UNIVERSITY OF
发明人
EBBINI, EMAD S. | PHUKPATTARANONT, PORNCHAI
简单同族
AU2003228946A1 | AU2003228946A8 | EP1520185A2 | US20030212326A1 | US20040030251A1 | US6705993 | US6951540 | WO2003096006A2 | WO2003096006A3
简单同族成员数量
9
简单同族被引用专利总数
126
诉讼案件数
0
法律状态/事件
授权 | 权利转移
抱歉,您的浏览器不支持PDF预览,请点击链接下载PDF文件