专利数据库
统计分析
产业报告
专利数据监控
产业人才
行业动态
产业政策法规
维权援助
个人中心
详情
文本
图像
标题
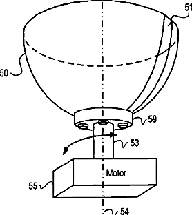
System and method for three-dimensional ultrasound imaging
授权日
2012-12-04
公开(公告)号
US8323201
申请日
2008-08-06
公开(公告)日
2012-12-04
当前申请(专利权)人
ORISON CORPORATION
发明人
TOWFIQ, FARHAD | BUSSE, LAWRENCE J. | DOUGLAS, STEPHEN J.
简单同族
US20090043206A1 | US20130158404A1 | US20150245813A1 | US20150245814A1 | US8323201 | WO2009020617A1
简单同族成员数量
6
简单同族被引用专利总数
107
诉讼案件数
0
法律状态/事件
授权 | 权利转移
抱歉,您的浏览器不支持PDF预览,请点击链接下载PDF文件