专利数据库
统计分析
产业报告
专利数据监控
产业人才
行业动态
产业政策法规
维权援助
个人中心
详情
文本
图像
标题
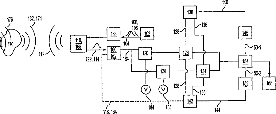
Ultrasound Imaging Beam-Former Apparatus and Method
授权日
1900-01-01
公开(公告)号
US20120053460A1
申请日
2011-08-16
公开(公告)日
2012-03-01
当前申请(专利权)人
UNIVERSITY OF VIRGINIA PATENT FOUNDATION
发明人
BLALOCK, TRAVIS N. | WALKER, WILLIAM F. | HOSSACK, JOHN A.
简单同族
AT557296T | CA2513446A1 | CA2513446C | CA2513447A1 | CA2513447C | EP1622514A2 | EP1622514A4 | EP1622514B1 | US20070016022A1 | US20100312106A9 | US20120053460A1 | US20170000458A1 | US9275630 | WO2004064619A2 | WO2004064619A3 | WO2004064620A2 | WO2004064620A3
简单同族成员数量
17
简单同族被引用专利总数
104
诉讼案件数
0
法律状态/事件
授权 | 权利转移
抱歉,您的浏览器不支持PDF预览,请点击链接下载PDF文件