专利数据库
统计分析
产业报告
专利数据监控
产业人才
行业动态
产业政策法规
维权援助
个人中心
详情
文本
图像
标题
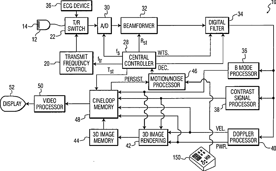
Ultrasonic diagnostic imaging system with automatic control of penetration, resolution and frame rate
授权日
1900-01-01
公开(公告)号
US20100010352A1
申请日
2009-09-18
公开(公告)日
2010-01-14
当前申请(专利权)人
KONINKLIJKE PHILIPS ELECTRONICS N.V.
发明人
JONG, JING-MING
简单同族
AT487149T | CN1894594A | CN1894594B | DE602004029930D1 | EP1697759A1 | EP1697759B1 | JP2007513726A | US20070276236A1 | US20100010352A1 | WO2005059586A1
简单同族成员数量
10
简单同族被引用专利总数
72
诉讼案件数
0
法律状态/事件
实质审查
抱歉,您的浏览器不支持PDF预览,请点击链接下载PDF文件