专利数据库
统计分析
产业报告
专利数据监控
产业人才
行业动态
产业政策法规
维权援助
个人中心
详情
文本
图像
标题
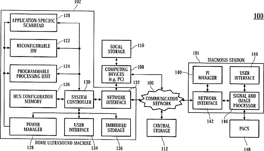
Home ultrasound system
授权日
1900-01-01
公开(公告)号
US20110301464A1
申请日
2011-08-16
公开(公告)日
2011-12-08
当前申请(专利权)人
NANYANG TECHNOLOGICAL UNIVERSITY
发明人
YOO, YANG MO | KIM, YONGMIN | SIM, DONG-GYU | AGARWAL, ANUP | SCHNEIDER, FABIO KURT
简单同族
SG120301A1 | US20060074320A1 | US20110301464A1
简单同族成员数量
3
简单同族被引用专利总数
103
诉讼案件数
0
法律状态/事件
撤回
抱歉,您的浏览器不支持PDF预览,请点击链接下载PDF文件