专利数据库
统计分析
产业报告
专利数据监控
产业人才
行业动态
产业政策法规
维权援助
个人中心
详情
文本
图像
标题
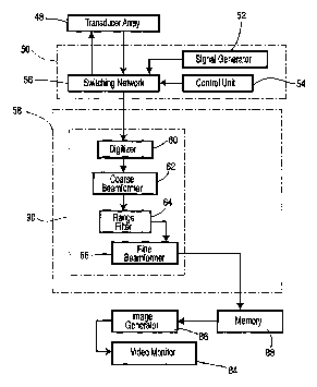
3D ultrasonic imaging apparatus and method
授权日
2007-10-23
公开(公告)号
US7285094
申请日
2003-01-28
公开(公告)日
2007-10-23
当前申请(专利权)人
WILK ULTRASOUND OF CANADA, INC.
发明人
NOHARA, TIMOTHY J. | WEBER, PETER | BERNARDI, RICHARD
简单同族
CA2514828A1 | US20030163046A1 | US20080139937A1 | US7285094 | WO2003065070A1
简单同族成员数量
5
简单同族被引用专利总数
104
诉讼案件数
0
法律状态/事件
未缴年费 | 权利转移
抱歉,您的浏览器不支持PDF预览,请点击链接下载PDF文件