专利数据库
统计分析
产业报告
专利数据监控
产业人才
行业动态
产业政策法规
维权援助
个人中心
详情
文本
图像
标题
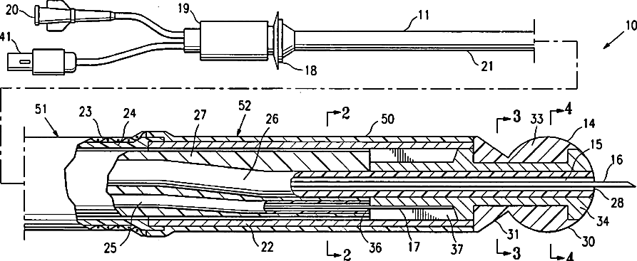
Echogenic needle catheter configured to produce an improved ultrasound image
授权日
1900-01-01
公开(公告)号
US20070167822A1
申请日
2005-12-02
公开(公告)日
2007-07-19
当前申请(专利权)人
ABBOTT CARDIOVASCULAR SYSTEMS INC.
发明人
WEBLER, WILLIAM E. | CHOW, MINA
简单同族
AT502576T | DE602006020913D1 | EP1956984A1 | EP1956984B1 | EP2338553A1 | ES2360524T3 | HK1121663A | HK1121663A1 | JP2009517178A | JP5107931B2 | US20070167822A1 | US20100331697A1 | US7867169 | US8303509 | WO2007067324A1
简单同族成员数量
15
简单同族被引用专利总数
114
诉讼案件数
0
法律状态/事件
未缴年费 | 权利转移
抱歉,您的浏览器不支持PDF预览,请点击链接下载PDF文件