专利数据库
统计分析
产业报告
专利数据监控
产业人才
行业动态
产业政策法规
维权援助
个人中心
详情
文本
图像
标题
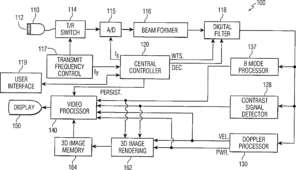
Method of and system for ultrasound imaging
授权日
2003-12-30
公开(公告)号
US6669641
申请日
2002-10-10
公开(公告)日
2003-12-30
当前申请(专利权)人
KONINKLIJKE PHILIPS ELECTRONICS N.V.
发明人
POLAND, MCKEE DUNN | FRISA, JANICE | SAVORD, BERNARD J. | SALGO, IVAN | DEMERS, DOUGLAS | WARD, MARK | DETMER, PAUL
简单同族
US20030097067A1 | US6669641
简单同族成员数量
2
简单同族被引用专利总数
56
诉讼案件数
0
法律状态/事件
授权 | 权利转移
抱歉,您的浏览器不支持PDF预览,请点击链接下载PDF文件