专利数据库
统计分析
产业报告
专利数据监控
产业人才
行业动态
产业政策法规
维权援助
个人中心
详情
文本
图像
标题
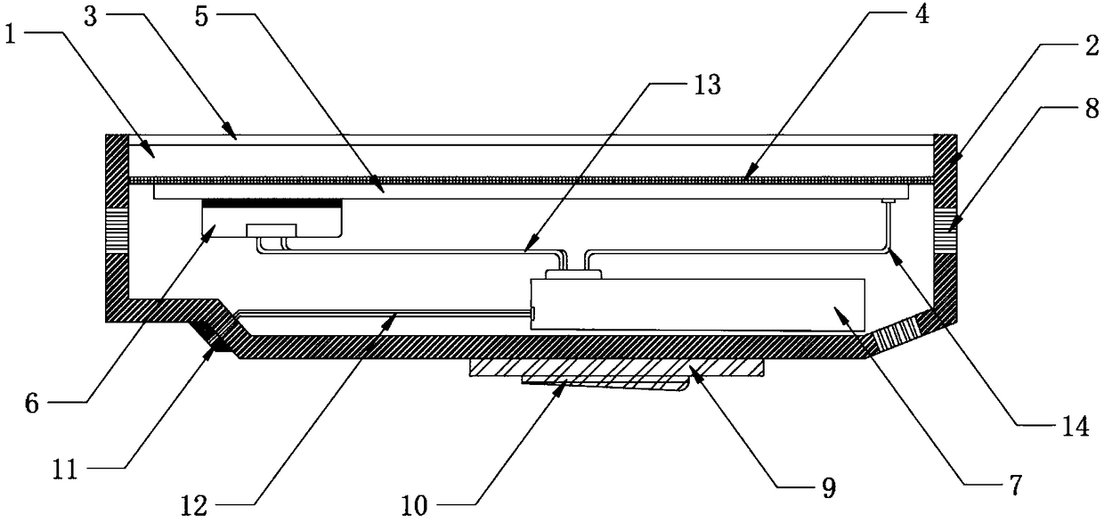
一种低温加固型高亮度显示器
授权日
2019-01-22
公开(公告)号
CN208421461U
申请日
2018-06-19
公开(公告)日
2019-01-22
当前申请(专利权)人
浙江沐泽电子科技有限公司
发明人
方亮 | 罗文燕 | 沈杰 | 周全
简单同族
CN208421461U
简单同族成员数量
1
简单同族被引用专利总数
0
诉讼案件数
0
法律状态/事件
授权
抱歉,您的浏览器不支持PDF预览,请点击链接下载PDF文件