专利数据库
统计分析
产业报告
专利数据监控
产业人才
行业动态
产业政策法规
维权援助
个人中心
详情
文本
图像
标题
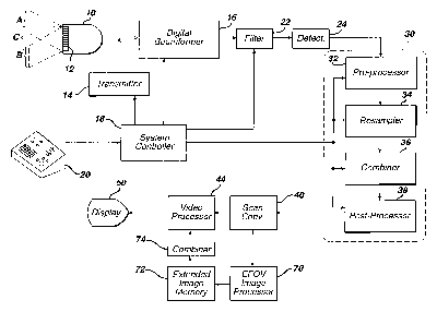
Ultrasonic diagnostic systems with spatial compounded panoramic imaging
授权日
2002-07-09
公开(公告)号
US6416477
申请日
2000-08-22
公开(公告)日
2002-07-09
当前申请(专利权)人
KONINKLIJKE PHILIPS ELECTRONICS N.V.
发明人
JAGO, JAMES R.
简单同族
EP1311872A2 | JP2004507298A | US6416477 | WO2002016963A2 | WO2002016963A3
简单同族成员数量
5
简单同族被引用专利总数
118
诉讼案件数
0
法律状态/事件
未缴年费 | 权利转移
抱歉,您的浏览器不支持PDF预览,请点击链接下载PDF文件