专利数据库
统计分析
产业报告
专利数据监控
产业人才
行业动态
产业政策法规
维权援助
个人中心
详情
文本
图像
标题
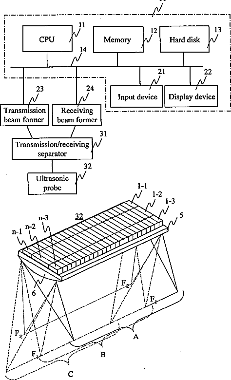
Ultrasonographic device and ultrasonographic method
授权日
1900-01-01
公开(公告)号
US20060173334A1
申请日
2004-06-09
公开(公告)日
2006-08-03
当前申请(专利权)人
HITACHI MEDICAL CORPORATION
发明人
AZUMA, TAKASHI | UMEMURA, SHIN-ICHIRO | BABA, HIROTAKA
简单同族
CN1805710A | EP1652475A1 | EP1652475A4 | EP1652475B1 | JP2010042266A | JP4426530B2 | JP5357684B2 | JPWO2005013829A1 | US20060173334A1 | US20090118617A1 | US7473226 | US8079956 | WO2005013829A1
简单同族成员数量
13
简单同族被引用专利总数
43
诉讼案件数
0
法律状态/事件
未缴年费 | 权利转移
抱歉,您的浏览器不支持PDF预览,请点击链接下载PDF文件