专利数据库
统计分析
产业报告
专利数据监控
产业人才
行业动态
产业政策法规
维权援助
个人中心
详情
文本
图像
标题
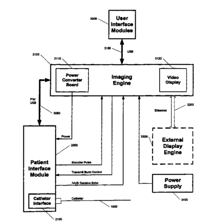
Intravascular ultrasound system for co-registered imaging
授权日
2017-11-07
公开(公告)号
US9808222
申请日
2010-10-12
公开(公告)日
2017-11-07
当前申请(专利权)人
ACIST MEDICAL SYSTEMS, INC.
发明人
MOORE, THOMAS C. | WATERS, KENDALL R. | REYNOLDS, J. STEVE | LAM, DUC H. | MASTERS, DONALD
简单同族
CA2777562A1 | CA2777562C | CN102665569A | CN102665569B | EP2488107A2 | EP2488107A4 | EP2488107B1 | HK1172810A | HK1172810A1 | JP2013507227A | JP2015144851A | JP6055862B2 | KR101812492B1 | KR1020120095384A | US20110087104A1 | US20180042575A1 | US9808222 | WO2011046903A2 | WO2011046903A3
简单同族成员数量
19
简单同族被引用专利总数
123
诉讼案件数
0
法律状态/事件
授权 | 权利转移
抱歉,您的浏览器不支持PDF预览,请点击链接下载PDF文件