专利数据库
统计分析
产业报告
专利数据监控
产业人才
行业动态
产业政策法规
维权援助
个人中心
详情
文本
图像
标题
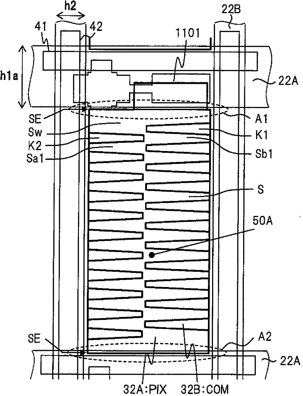
显示装置及电子设备
授权日
1900-01-01
公开(公告)号
CN103713432A
申请日
2013-09-27
公开(公告)日
2014-04-09
当前申请(专利权)人
株式会社日本显示器
发明人
松岛寿治
简单同族
CN103713432A | CN103713432B | JP2014071309A | JP5767186B2 | KR101516079B1 | KR1020140042716A | TW201415139A | TWI507799B | US10222660 | US10649287 | US20140092353A1 | US20160299390A1 | US20190146287A1 | US9383614
简单同族成员数量
14
简单同族被引用专利总数
79
诉讼案件数
0
法律状态/事件
授权
抱歉,您的浏览器不支持PDF预览,请点击链接下载PDF文件