专利数据库
统计分析
产业报告
专利数据监控
产业人才
行业动态
产业政策法规
维权援助
个人中心
详情
文本
图像
标题
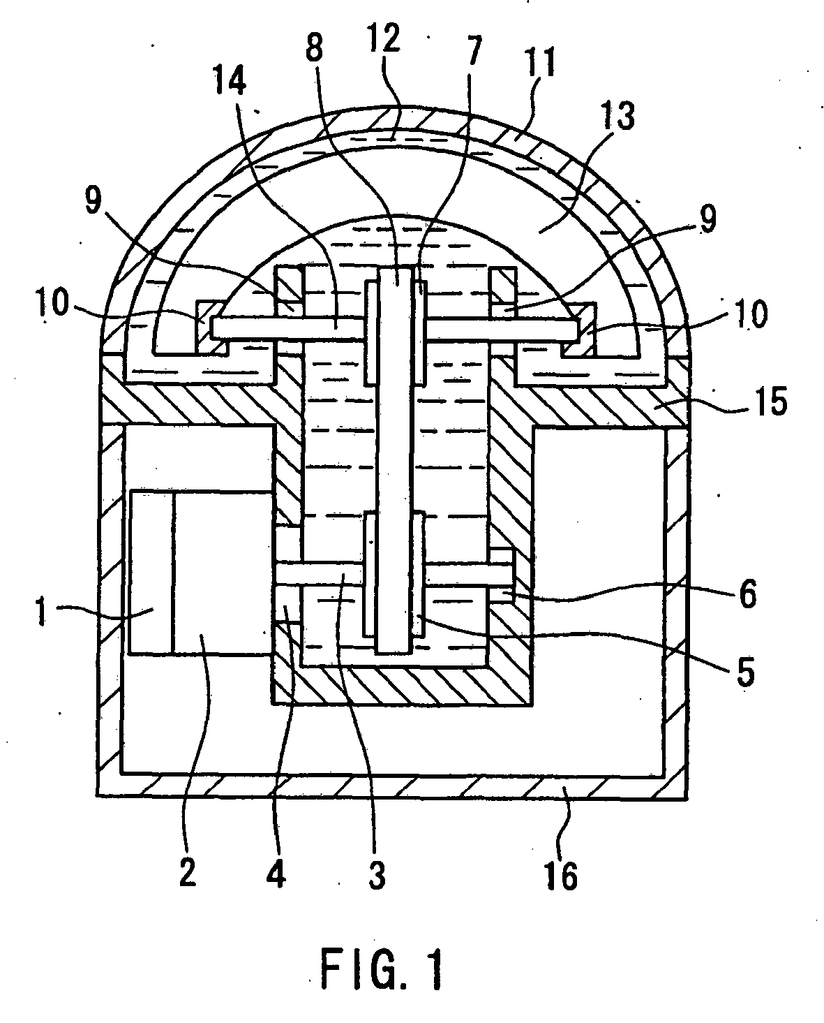
Method of ultrasonic diagnostic
授权日
2014-01-22
公开(公告)号
EP2314220B1
申请日
2003-10-16
公开(公告)日
2014-01-22
当前申请(专利权)人
KONICA MINOLTA, INC.
发明人
IRIOKA, KAZUYOSHI | OOKAWA, EIICHI | KOIZUMI, JUN | HASEGAWA, SHIGEYOSHI
简单同族
CA2502384A1 | CN100379387C | CN1705459A | DE60335398D1 | EP1554981A1 | EP1554981A4 | EP1554981B1 | EP2314220A1 | EP2314220B1 | JP2004135966A | JP3821435B2 | KR100707237B1 | KR1020050049546A | US20060173329A1 | US7431697 | WO2004034911A1
简单同族成员数量
16
简单同族被引用专利总数
83
诉讼案件数
0
法律状态/事件
权利终止 | 权利转移
抱歉,您的浏览器不支持PDF预览,请点击链接下载PDF文件