专利数据库
统计分析
产业报告
专利数据监控
产业人才
行业动态
产业政策法规
维权援助
个人中心
详情
文本
图像
标题
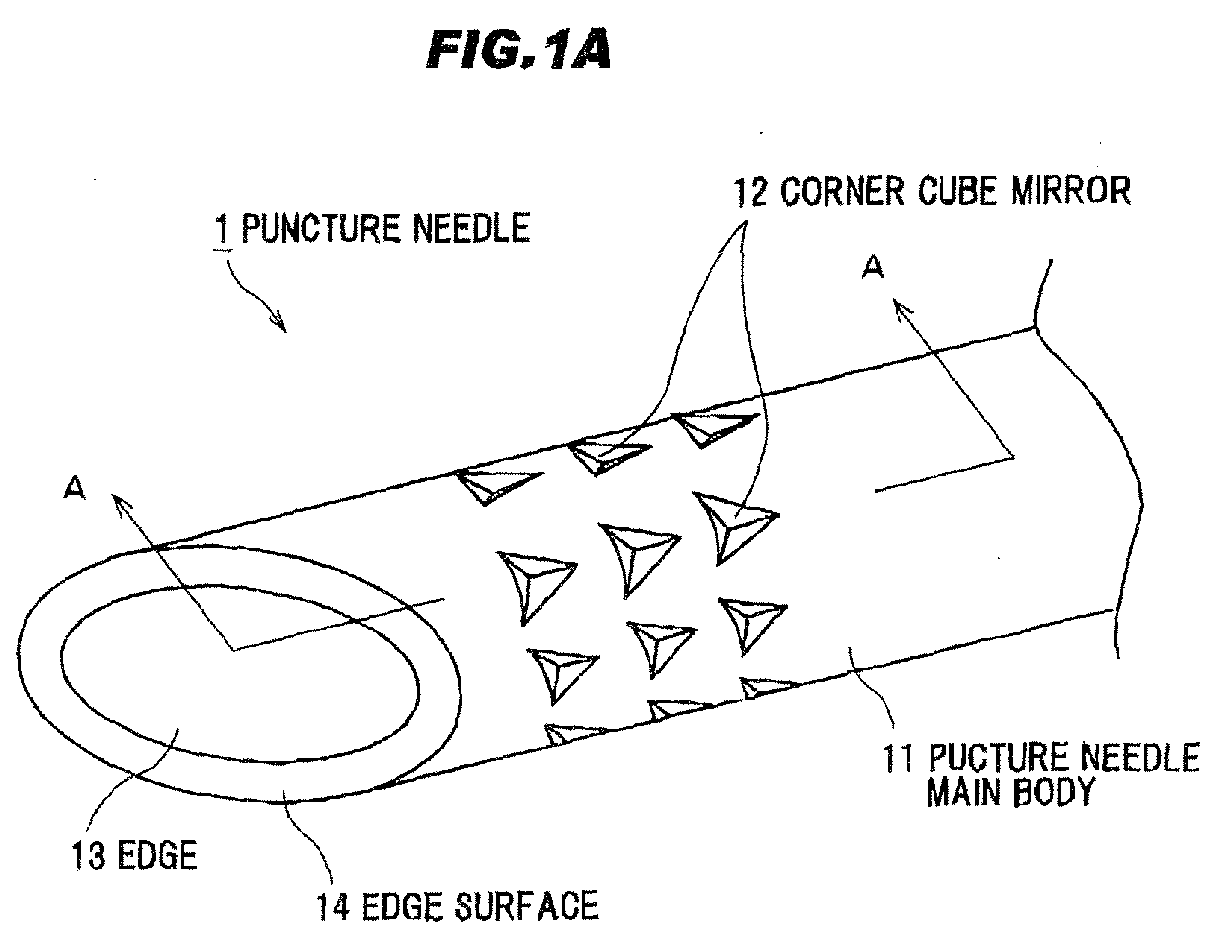
Ultrasonic puncture needle
授权日
1900-01-01
公开(公告)号
EP2363070A1
申请日
2005-07-25
公开(公告)日
2011-09-07
当前申请(专利权)人
HAKKO CO., LTD.
发明人
MARUYAMA, MASARU | KITAGAWA, SHIRO | KOMATSU, MASAYOSHI
简单同族
CN101227862A | CN101227862B | EP1908406A1 | EP1908406A4 | EP1908406B1 | EP2363070A1 | HK1114760A | HK1114760A1 | JP4700057B2 | JPWO2007013130A1 | US20090137906A1 | US20120117807A1 | US20140180104A1 | WO2007013130A1
简单同族成员数量
14
简单同族被引用专利总数
98
诉讼案件数
0
法律状态/事件
撤回
抱歉,您的浏览器不支持PDF预览,请点击链接下载PDF文件