专利数据库
统计分析
产业报告
专利数据监控
产业人才
行业动态
产业政策法规
维权援助
个人中心
详情
文本
图像
标题
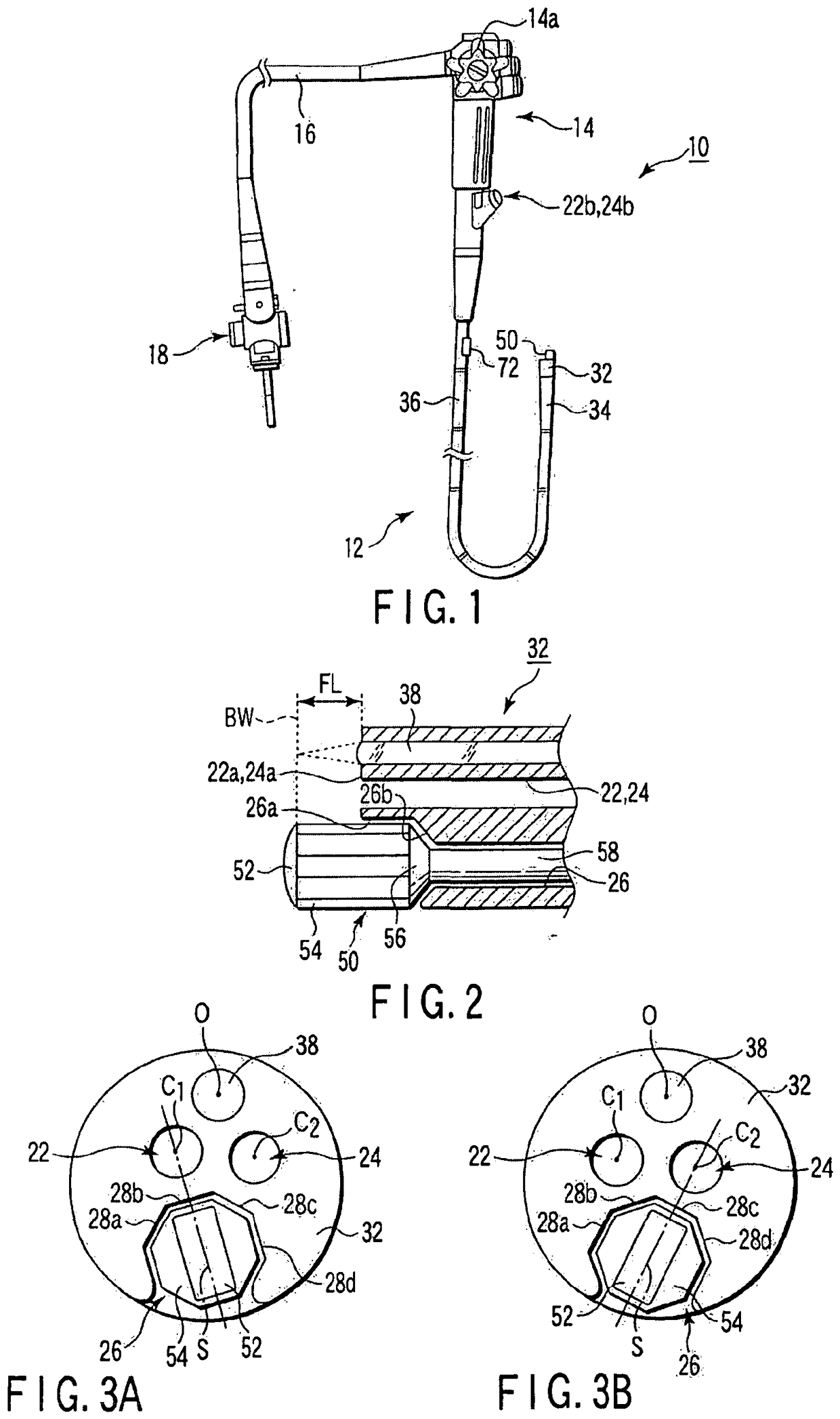
Ultrasonic endoscope
授权日
2018-10-10
公开(公告)号
EP2263514B1
申请日
2007-08-28
公开(公告)日
2018-10-10
当前申请(专利权)人
OLYMPUS CORPORATION
发明人
SATO, MASATOSHI | KAJI, KUNIHIDE | SUZUKI, TAKAYUKI | SHIONO, JUNJI | MIKKAICHI, TAKAYASU | SHINICHI, TSUTAKI | TOSHIHIRO, SHIZUKA | TAKEHARU, NAKAZATO | SATO, SUNAO | MIZUNUMA, AKIKO
简单同族
CN101219062A | CN101219062B | CN102225020A | EP1894513A2 | EP1894513A3 | EP1894513B1 | EP2036485A2 | EP2036485A3 | EP2263514A2 | EP2263514A3 | EP2263514B1 | EP2263515A2 | EP2263515A3 | JP2008055159A | JP2008055159A5 | JP2011019974A | JP2011062531A | JP5073415B2 | JP5242660B2 | US20080051655A1
简单同族成员数量
20
简单同族被引用专利总数
113
诉讼案件数
0
法律状态/事件
授权 | 权利转移
抱歉,您的浏览器不支持PDF预览,请点击链接下载PDF文件