专利数据库
统计分析
产业报告
专利数据监控
产业人才
行业动态
产业政策法规
维权援助
个人中心
详情
文本
图像
标题
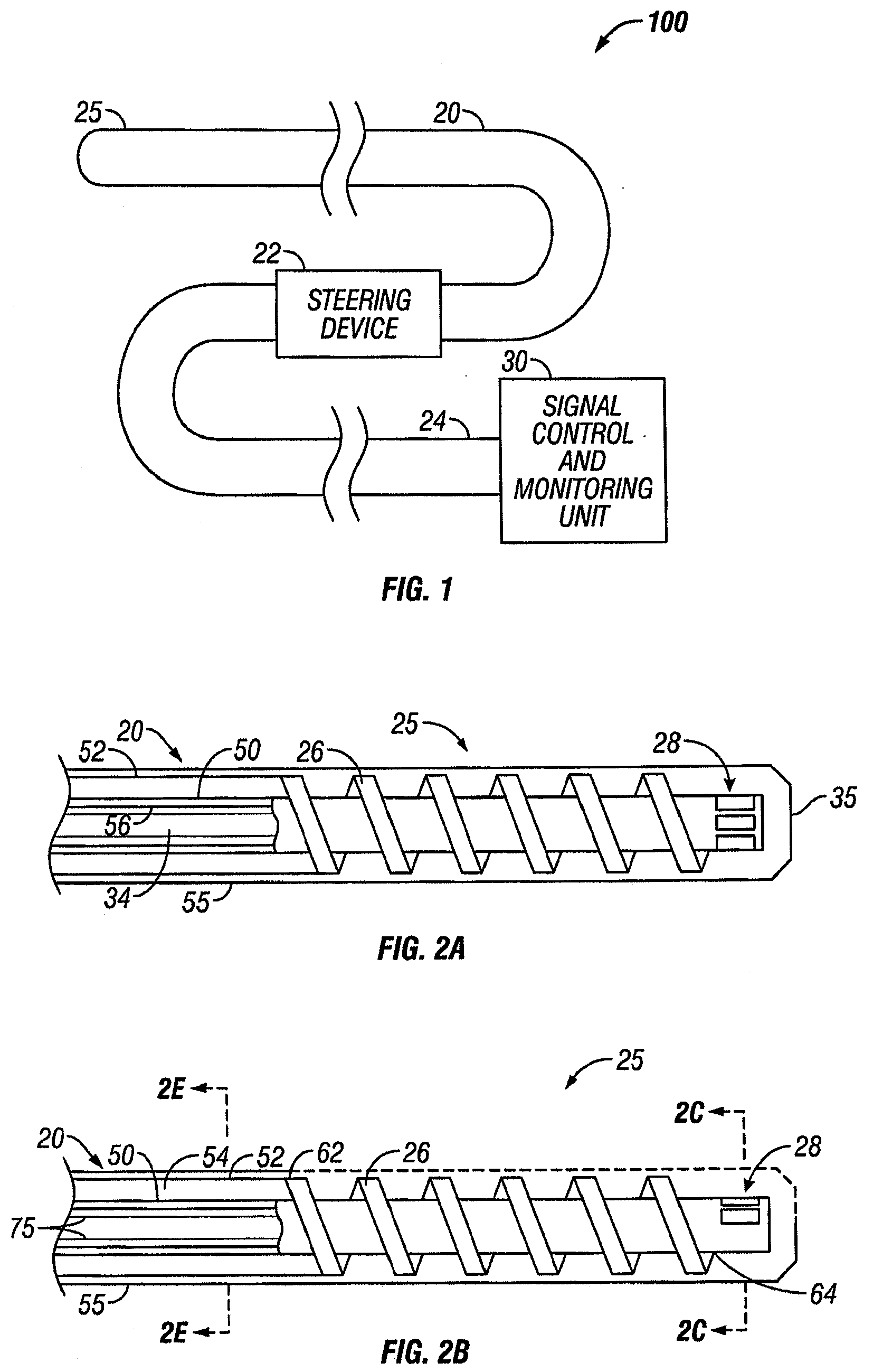
Tissue ablation apparatus using ultrasonic imaging
授权日
2016-09-14
公开(公告)号
EP2478844B1
申请日
2009-05-18
公开(公告)日
2016-09-14
当前申请(专利权)人
MEDWAVES, INC.
发明人
ORMSBY, THEODORE C.
简单同族
EP2291134A2 | EP2291134A4 | EP2478844A1 | EP2478844B1 | ES2606782T3 | US20090299360A1 | US8133222 | WO2009154915A2 | WO2009154915A3
简单同族成员数量
9
简单同族被引用专利总数
94
诉讼案件数
0
法律状态/事件
授权
抱歉,您的浏览器不支持PDF预览,请点击链接下载PDF文件