专利数据库
统计分析
产业报告
专利数据监控
产业人才
行业动态
产业政策法规
维权援助
个人中心
详情
文本
图像
标题
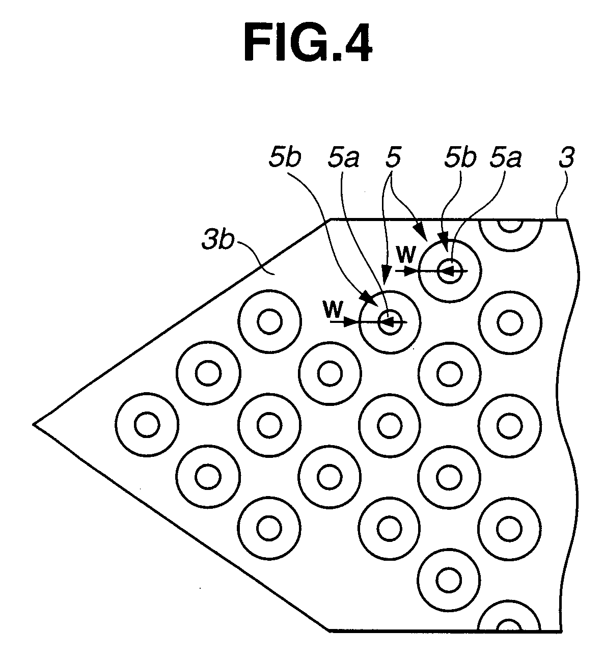
Ultrasonic puncture needle
授权日
1900-01-01
公开(公告)号
EP1426011A1
申请日
2003-12-03
公开(公告)日
2004-06-09
当前申请(专利权)人
OLYMPUS CORPORATION
发明人
ICHIKAWA, YUSUKE
简单同族
DE60311736D1 | DE60311736T2 | EP1426011A1 | EP1426011B1 | JP2004181095A | JP3890013B2 | US20040249288A1
简单同族成员数量
7
简单同族被引用专利总数
96
诉讼案件数
0
法律状态/事件
授权
抱歉,您的浏览器不支持PDF预览,请点击链接下载PDF文件