专利数据库
统计分析
产业报告
专利数据监控
产业人才
行业动态
产业政策法规
维权援助
个人中心
详情
文本
图像
标题
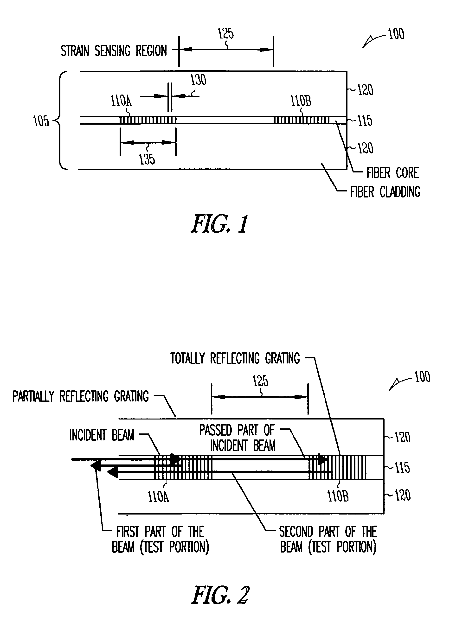
Optical ultrasound receiver
授权日
2012-08-15
公开(公告)号
EP2356412B1
申请日
2009-10-01
公开(公告)日
2012-08-15
当前申请(专利权)人
VASCULAR IMAGING CORPORATION
发明人
EBERLE, MICHAEL J. | TASKER, DIANA MARGARET | ROURKE, HOWARD NEIL
简单同族
EP2356412A1 | EP2356412B1 | US20100087732A1 | US20140142414A1 | US20150313472A1 | US8560048 | US9078561 | US9579026 | WO2010039950A1
简单同族成员数量
9
简单同族被引用专利总数
112
诉讼案件数
0
法律状态/事件
授权
抱歉,您的浏览器不支持PDF预览,请点击链接下载PDF文件