专利数据库
统计分析
产业报告
专利数据监控
产业人才
行业动态
产业政策法规
维权援助
个人中心
详情
文本
图像
标题
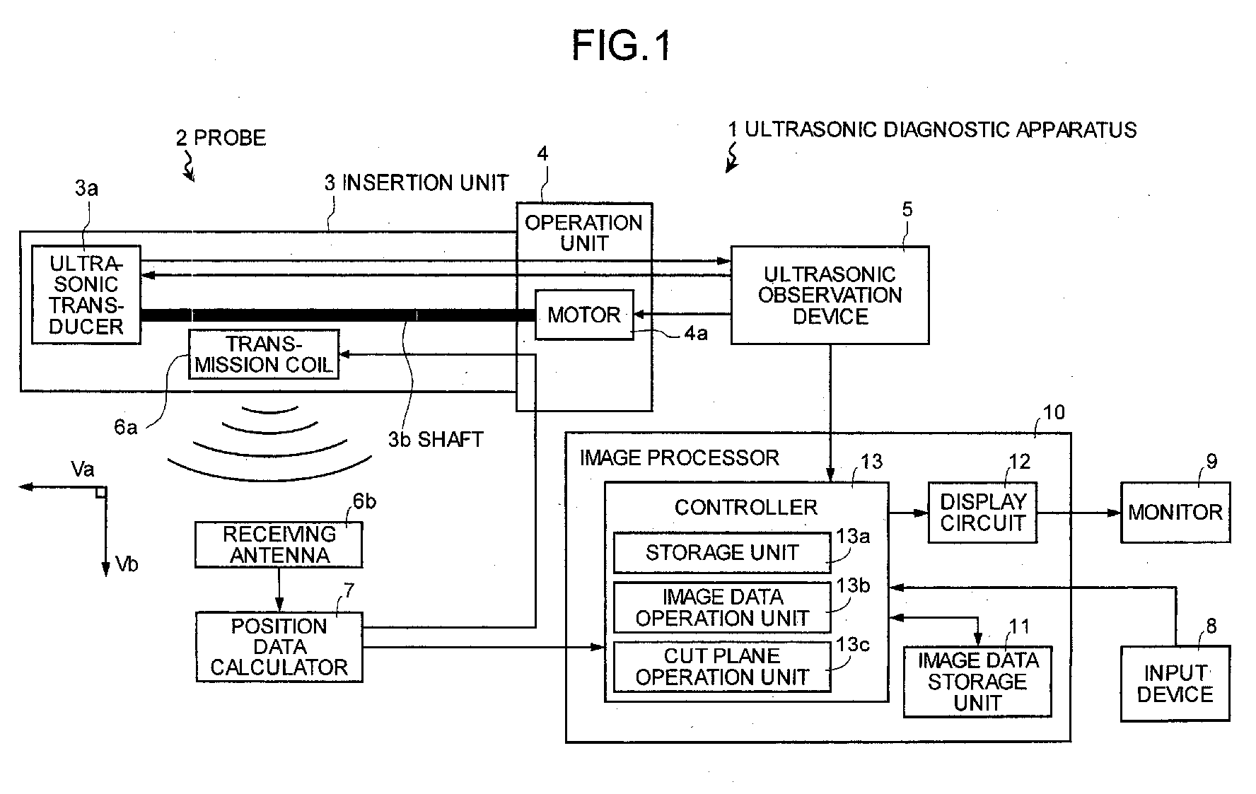
Ultrasonic diagnostic apparatus
授权日
1900-01-01
公开(公告)号
EP1523939A1
申请日
2004-10-12
公开(公告)日
2005-04-20
当前申请(专利权)人
OLYMPUS CORPORATION
发明人
KAWASHIMA, TOMONAO C/O INTELLECTUAL PROPERTY DEPT. | YOKOI, SHUN C/O INTELLECTUAL PROPERTY DEPARTMENT
简单同族
EP1523939A1 | EP1523939B1 | US20050090743A1 | US7798966
简单同族成员数量
4
简单同族被引用专利总数
95
诉讼案件数
0
法律状态/事件
权利终止 | 权利转移
抱歉,您的浏览器不支持PDF预览,请点击链接下载PDF文件