专利数据库
统计分析
产业报告
专利数据监控
产业人才
行业动态
产业政策法规
维权援助
个人中心
详情
文本
图像
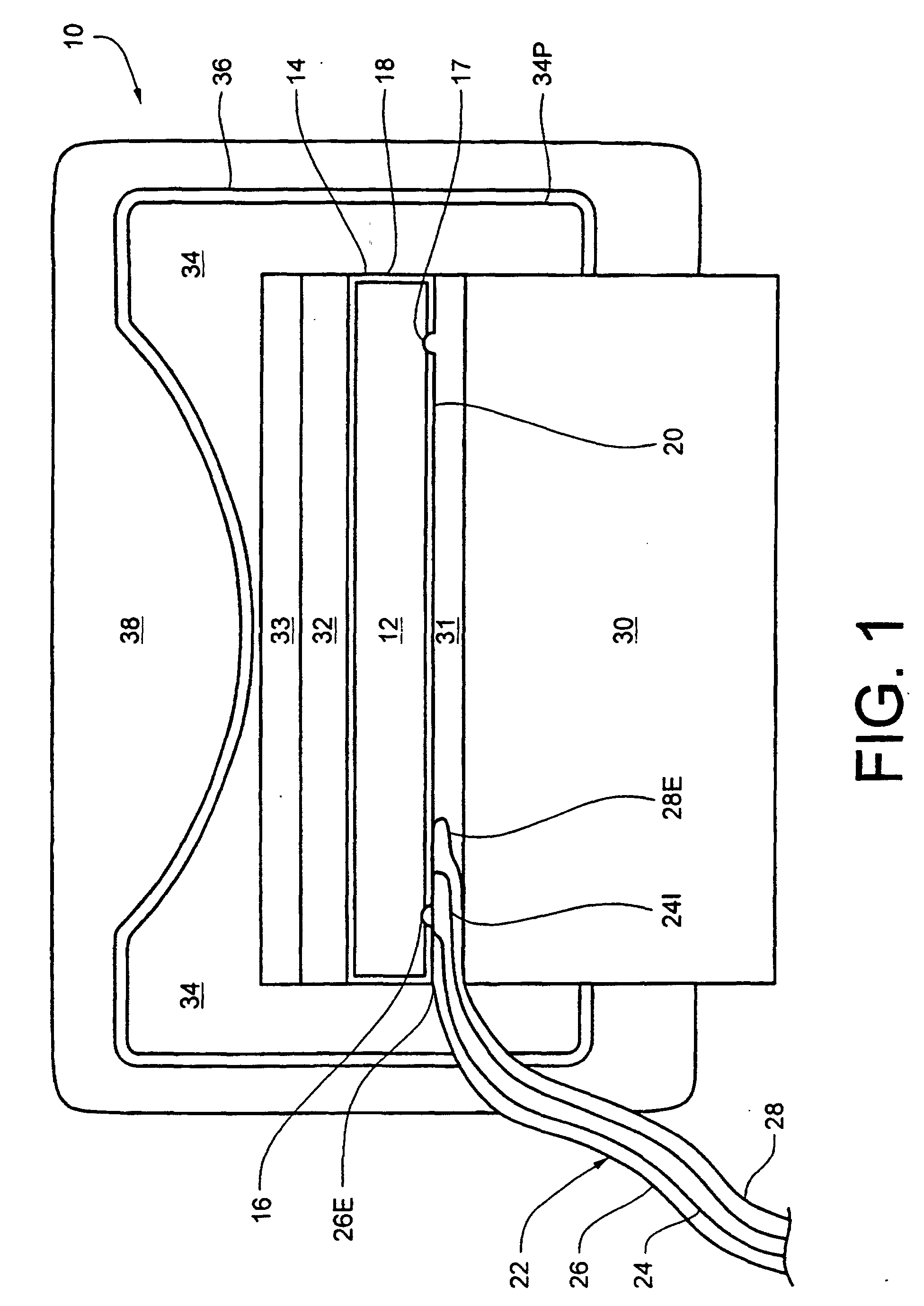
标题
Ultrasonic linear or curvilinear transducer and connection technique therefore
授权日
2005-02-16
公开(公告)号
EP1218115B1
申请日
2000-06-30
公开(公告)日
2005-02-16
当前申请(专利权)人
PROSONIC COMPANY LTD. | DOUGLAS, STEVE | OGAWA, SHINJI
发明人
DOUGLAS, STEVE | OGAWA, SHINJI
简单同族
AT289223T | DE60018195D1 | EP1218115A2 | EP1218115B1 | JP2003518394A | KR100695504B1 | KR1020020059327A | US6396199 | WO2001003108A2 | WO2001003108A3
简单同族成员数量
10
简单同族被引用专利总数
78
诉讼案件数
0
法律状态/事件
权利终止 | 权利转移
抱歉,您的浏览器不支持PDF预览,请点击链接下载PDF文件