专利数据库
统计分析
产业报告
专利数据监控
产业人才
行业动态
产业政策法规
维权援助
个人中心
详情
文本
图像
标题
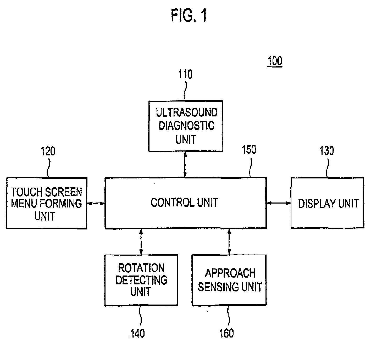
User interface in an ultrasound system
授权日
1900-01-01
公开(公告)号
EP2110764A1
申请日
2009-03-24
公开(公告)日
2009-10-21
当前申请(专利权)人
MEDISON CO., LTD.
发明人
KIM, JIN HYOUNG
简单同族
EP2110764A1 | JP2009240779A | JP5475304B2 | KR101055530B1 | KR1020090103290A | US20090247874A1 | US20130253323A1 | US8517946 | US8747322
简单同族成员数量
9
简单同族被引用专利总数
42
诉讼案件数
0
法律状态/事件
撤回 | 权利转移
抱歉,您的浏览器不支持PDF预览,请点击链接下载PDF文件