专利数据库
统计分析
产业报告
专利数据监控
产业人才
行业动态
产业政策法规
维权援助
个人中心
详情
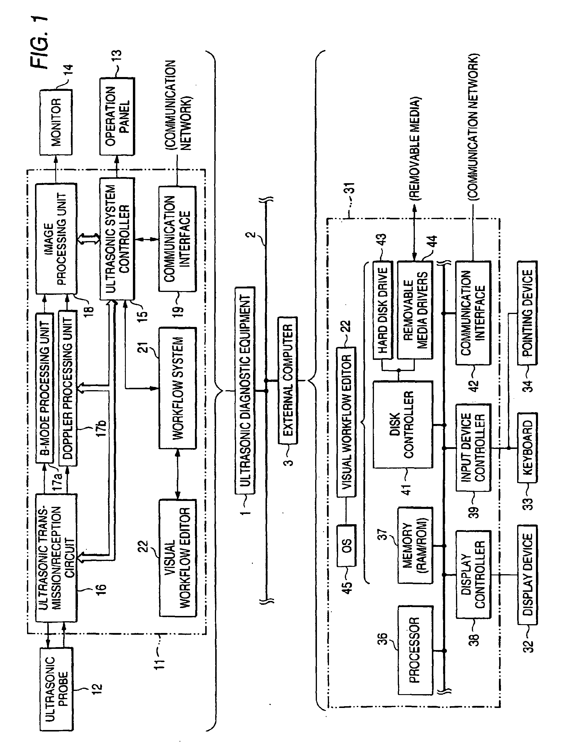
文本
图像
标题
Ultrasonograph, work flow edition system, and ultrasonograph control method
授权日
2012-02-29
公开(公告)号
EP1454585B1
申请日
2001-11-22
公开(公告)日
2012-02-29
当前申请(专利权)人
KABUSHIKI KAISHA TOSHIBA
发明人
SANO, AKIHIRO | KAMIYAMA, NAOHISA | OGASAWARA, YOICHI
简单同族
CN1558738A | EP1454585A1 | EP1454585A4 | EP1454585B1 | JPWO2003043501A1 | KR1020040066836A | US20040254465A1 | US7603182 | WO2003043501A1
简单同族成员数量
9
简单同族被引用专利总数
109
诉讼案件数
0
法律状态/事件
授权
抱歉,您的浏览器不支持PDF预览,请点击链接下载PDF文件