专利数据库
统计分析
产业报告
专利数据监控
产业人才
行业动态
产业政策法规
维权援助
个人中心
详情
文本
图像
标题
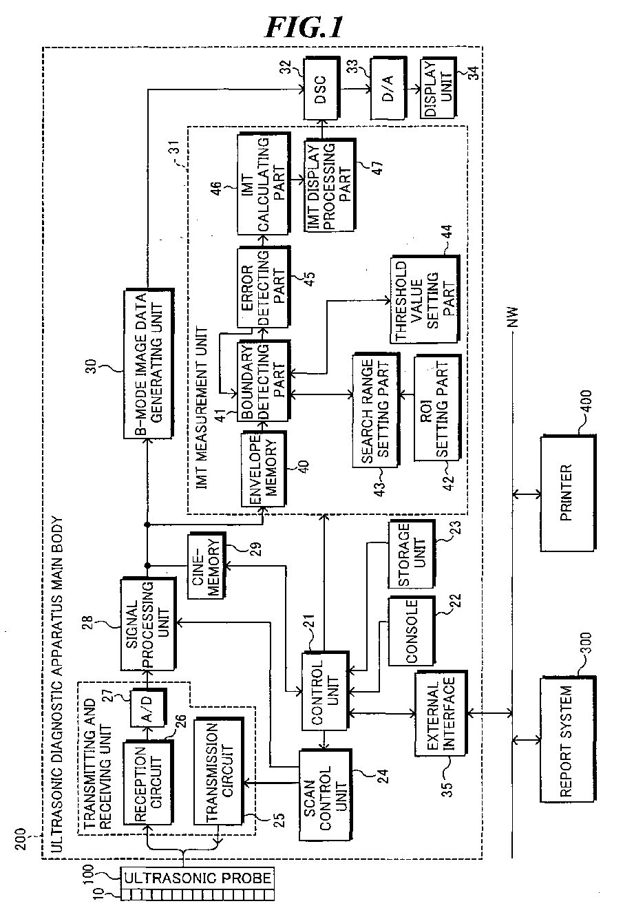
Ultrasonic diagnostic apparatus, IMT measurement method, and IMT measurement program
授权日
1900-01-01
公开(公告)号
EP1943953A3
申请日
2008-01-11
公开(公告)日
2010-08-18
当前申请(专利权)人
FUJIFILM CORPORATION
发明人
ISHIHARA, KEITAROU
简单同族
EP1943953A2 | EP1943953A3 | EP1943953B1 | JP2008168016A | JP2008168016A5 | JP5230106B2 | US20080171939A1 | US7959572
简单同族成员数量
8
简单同族被引用专利总数
73
诉讼案件数
0
法律状态/事件
授权
抱歉,您的浏览器不支持PDF预览,请点击链接下载PDF文件