专利数据库
统计分析
产业报告
专利数据监控
产业人才
行业动态
产业政策法规
维权援助
个人中心
详情
文本
图像
标题
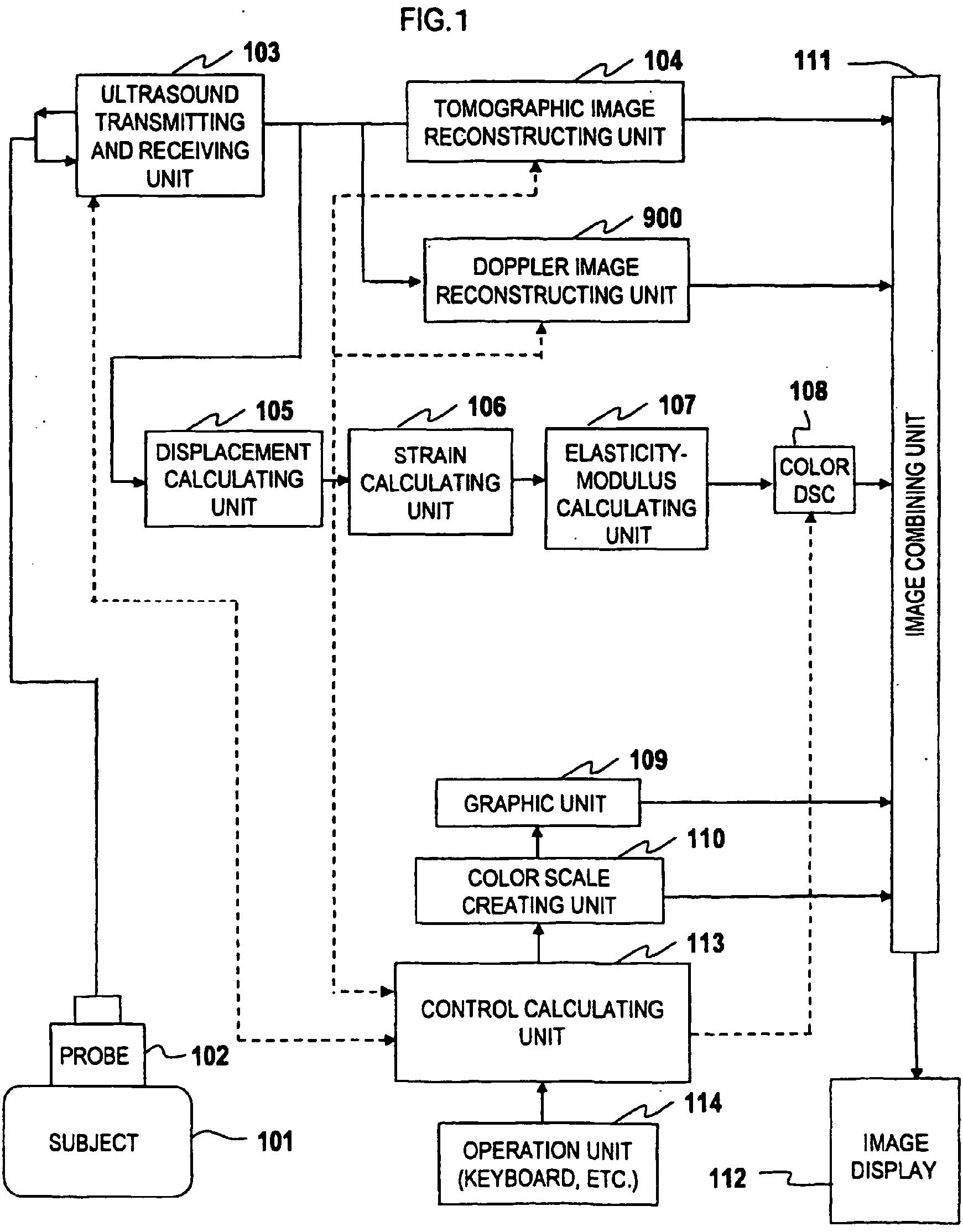
Ultrasonographic device, ultrasonographic program, and ultrasonographic method
授权日
1900-01-01
公开(公告)号
EP1834588A4
申请日
2005-12-27
公开(公告)日
2009-03-11
当前申请(专利权)人
HITACHI MEDICAL CORPORATION
发明人
WAKI, KOJI
简单同族
CN101094611A | CN101094611B | EP1834588A1 | EP1834588A4 | EP1834588B1 | JP2013034883A | JP5496302B2 | JPWO2006073088A1 | US20080081993A1 | US7766836 | WO2006073088A1
简单同族成员数量
11
简单同族被引用专利总数
91
诉讼案件数
0
法律状态/事件
权利终止 | 权利转移
抱歉,您的浏览器不支持PDF预览,请点击链接下载PDF文件