专利数据库
统计分析
产业报告
专利数据监控
产业人才
行业动态
产业政策法规
维权援助
个人中心
详情
文本
图像
标题
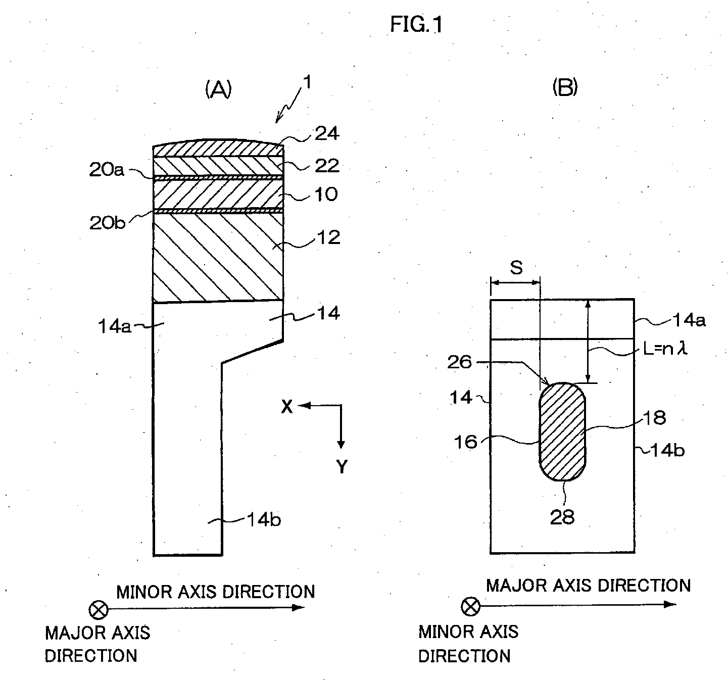
Ultrasonic probe and ultrasonic diagnosis device
授权日
1900-01-01
公开(公告)号
EP1825814A1
申请日
2005-12-08
公开(公告)日
2007-08-29
当前申请(专利权)人
HITACHI MEDICAL CORPORATION
发明人
HU, ZHIQIANG
简单同族
CN100490749C | CN101068499A | EP1825814A1 | EP1825814A4 | EP1825814B1 | JP4408899B2 | JPWO2006062164A1 | US20080139945A1 | US7834520 | WO2006062164A1
简单同族成员数量
10
简单同族被引用专利总数
37
诉讼案件数
0
法律状态/事件
权利终止 | 权利转移
抱歉,您的浏览器不支持PDF预览,请点击链接下载PDF文件