专利数据库
统计分析
产业报告
专利数据监控
产业人才
行业动态
产业政策法规
维权援助
个人中心
详情
文本
图像
标题
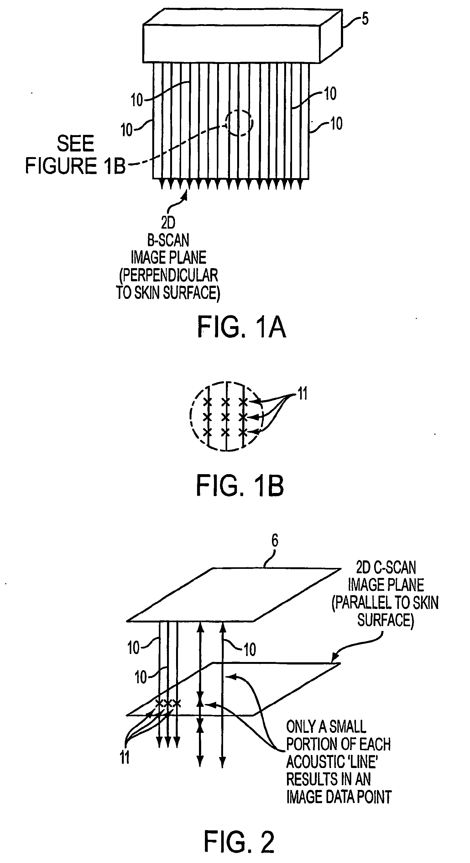
Efficient ultrasound system for two-dimentional c-scan imaging and related method thereof
授权日
2011-01-05
公开(公告)号
EP1620015B1
申请日
2004-01-15
公开(公告)日
2011-01-05
当前申请(专利权)人
UNIVERSITY OF VIRGINIA PATENT FOUNDATION
发明人
HOSSACK, JOHN, A. | WALKER, WILLIAM, F. | BLALOCK, TRAVIS, N.
简单同族
AT493936T | CA2513422A1 | CA2513422C | DE602004030900D1 | EP1620015A2 | EP1620015A4 | EP1620015B1 | US20060052697A1 | US7402136 | WO2004065978A2 | WO2004065978A3
简单同族成员数量
11
简单同族被引用专利总数
98
诉讼案件数
0
法律状态/事件
授权
抱歉,您的浏览器不支持PDF预览,请点击链接下载PDF文件